《炬丰科技-半导体工艺》单晶硅制造工艺
书籍:《炬丰科技-半导体工艺》
文章:单晶硅制造工艺
编号:JFKJ-21-553
作者:炬丰科技
摘要
本研究介绍了一种可在区域内实现单晶硅芯制造的技术,在进行硅区精炼操作之前及过程中的各个阶段,在系统腔室内逐步注入含有氢气和其他稀有气体(如氩气)的混合气体,并采用相应的净化措施。通过这一方法设计出的一种特定比例混合物的应用方案,在控制所选氢气占总混合气体体积的比例不超过5%时,则能够有效消除之前的实验结果中出现的问题——即由蚀刻区精炼 silicon 片后所观察到的现象所引发的一系列问题
技术描述
这是对标准程序中硅元素区域精炼的一种处理方法:首先,在高真空状态下进行区域精炼操作;其次,在区域精炼室内通入惰性气体如氩气以代替室内原有的空气或其他气体作为反应介质开始精炼过程。选择此方法的原因在于熔融状态下的硅与区域内残留的氧气存在不利反应,在这种情况下制备出的单晶硅棒会表现出较高的氧分含量。然而,在维持高真空度的过程中也伴随着一些局限性:一方面需要一套较为笨重且昂贵的真空设备来完成每个区间的更换;另一方面由于物理特性限制,完全消除区域内的氧气是不可能实现的。因此,在实际应用中往往采用惰性气体如氩气等不易耗尽且化学性质稳定的气体来进行替代操作。通过这种方法处理后的单晶硅片不仅能够在无明显氧污染的环境下稳定运行而且还能形成由撞击物簇引发的涡流现象:例如在某些特定工艺参数下通过选定种类的SIRTl蚀刻剂可观察到这些涡流特征并进一步分析其对材料性能的影响机制。这些涡流现象通常会导致单晶硅样品中的 minority carrier 导电率有所下降并且会在整个退火过程中起到优先扩散的作用
发明
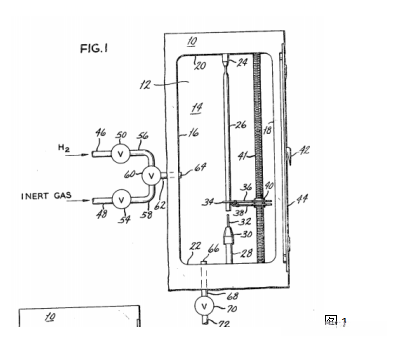
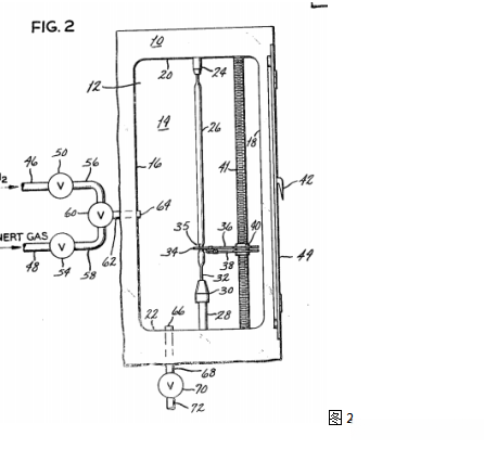
透视图1展示了硅区精炼室及其相关的净化气体流动路径。该区域内的精炼装置如图所示,在系统启动阶段(标记为1)运行良好。同一区域内的非法化操作(标记为2)已被实施。在此过程中(标记为1),区域精炼室的主要组件包括支持面板(编号10),通常由固定板(编号12)支撑。腔体结构包括后壁(编号14)、侧壁(编号16、18)、顶壁(编号20)和底壁(编号22)。在视图中忽略前壁与后壁配合的位置(标记为14),以便清晰显示腔体内部的分层细化装置。


