基于java+springboot+vue实现的房屋租赁系统(文末源码+Lw+ppt)23-397
摘要
伴随着社会的进步和发展
本文研究基于房源信息、预约以及求租需求的特性,在主要应用Java语言系列开发环境下,并基于Spring Boot技术平台构建数据模型,并选择MySQL作为数据库存储结构。同时采用了B/S架构进行系统设计与开发实现。通过使用本系统能够实现有效降低运营成本并提升管理效能
关键词:房屋租赁系统;JAVA语言;springboot框架
四、系统设计
(一)系统的框架设计
基于MVC模型构建了该体系结构,并将其划分为表示级、服务级和数据库级三个层次。通过基于MVC模式实现了业务分层,在系统设计上提升了各层之间的独立性与互操作性。在编码实现过程中,对共通代码以及逻辑相同的代码进行了提炼与封装,并通过这种方式实现了代码效率的提升与逻辑清晰度的增强[11]。
在表示层中(也称显示层),网页浏览器充当主体角色;通过网络浏览器可访问并进入该网页内容。基于Java语言在前端开发中的应用,在页面展示时可借助Ajax技术与后端业务系统实现交互互动。
2.逻辑层:一旦系统用户进入该体系后能够通过本体系调用相应的业务功能界面。具体来说包括多个核心功能模块如房源信息管理预约信息处理以及求租信息发布等这些都是维持系统正常运转的基础保障模块它们将在基于统一商业策略的应用程序下自动生成以确保系统的高效运行。
该系统支持MySQL对数据的持久性管理。通过MybatisORM技术体系的技术手段促进数据标准化、简化和快速存储。
(二)系统功能模块设计
该房屋租赁系统在设计与实施过程中采用了模块化的设计理念,在整合具有相同功能的系统时将它们整合到同一个组件中。通过这种方式不仅提升了内部功能的效率而且减少了各组件之间的联系从而减少了各组件之间相互影响的可能性[12]。
管理员后台系统的核心职能包括:用户管理系统(负责用户注册与登录)、房东管理系统(对出租人进行动态管理和监控)、房源信息管理系统(对房屋发布情况进行实时更新)、预约信息管理系统(协调各时段客源安排)、合同信息管理系统(处理房屋租赁相关的法律事务)、在线咨询管理系统(为客户提供线上咨询服务)、咨询回复管理系统(快速响应并处理客户留言)、投诉与申诉信息系统(建立高效的客户反馈渠道)、求租与应答信息系统(优化房屋出租信息发布)等功能。

图4-1系统功能模块图
(三) 数据库设计与实现
每个系统中的数据库都扮演着至关重要的角色。优化得当的数据库设计将显著提升系统的运行效率,并使系统的各逻辑功能得以顺利实现。因此,在进行数据库设计时,我们需要充分考虑系统的实际需求,并确保其设计能够完美地满足系统功能的需求。
1. 概念模型设计
概念模型是对现实世界中出现的问题及事物进行形式化的描述;ER模式由实体集及其间的关系数据构成;基于E-R模型能够清晰地阐述系统中各实体间的关联性。
用户信息实体体属图如下所示。

图4-2用户信息实体属性图
房东信息实体属图如下所示。

图4-3房东信息实体属图
投诉信息实体属图如下所示。

图4-4投诉信息实体属图
求租信息实体属图如下所示。

图4-5求租信息实体属图
****
(四)数据库逻辑结构设计
在本系统中,采用的是目前比较主流的MySQL数据库,并且设计了几个数据表如下所示:
表4-1:求租信息
| 字段名称 | 类型 | 长度 | 字段说明 | 主键 | 默认值 |
|---|---|---|---|---|---|
| id | bigint | 主键 | 主键 | ||
| addtime | timestamp | 创建时间 | CURRENT_TIMESTAMP | ||
| qiuzumingcheng | varchar | 200 | 求租名称 | ||
| qiuzuleixing | varchar | 200 | 求租类型 | ||
| chengshouzujin | varchar | 200 | 承受租金范围 | ||
| qiuzudizhi | varchar | 200 | 求租地址 | ||
| qu | varchar | 200 | 区 | ||
| xian | varchar | 200 | 县 | ||
| xuqiuneirong | longtext | 4294967295 | 需求内容 | ||
| zhanghao | varchar | 200 | 账号 | ||
| xingming | varchar | 200 | 姓名 | ||
| shoujihaoma | varchar | 200 | 手机号码 | ||
| sfsh | varchar | 200 | 是否审核 | 待审核 | |
| shhf | longtext | 4294967295 | 审核回复 |
表4-2:咨询回复
| 字段名称 | 类型 | 长度 | 字段说明 | 主键 | 默认值 |
|---|---|---|---|---|---|
| id | bigint | 主键 | 主键 | ||
| addtime | timestamp | 创建时间 | CURRENT_TIMESTAMP | ||
| fangwumingcheng | varchar | 200 | 房屋名称 | ||
| fangdongzhanghao | varchar | 200 | 房东账号 | ||
| fangdongxingming | varchar | 200 | 房东姓名 | ||
| zixunneirong | longtext | 4294967295 | 咨询内容 | ||
| zhanghao | varchar | 200 | 账号 | ||
| xingming | varchar | 200 | 姓名 | ||
| huifuneirong | longtext | 4294967295 | 回复内容 | ||
| huifuriqi | date | 回复日期 |
。
。
。
。
。
表4-22:房东
| 字段名称 | 类型 | 长度 | 字段说明 | 主键 | 默认值 |
|---|---|---|---|---|---|
| id | bigint | 主键 | 主键 | ||
| addtime | timestamp | 创建时间 | CURRENT_TIMESTAMP | ||
| fangdongzhanghao | varchar | 200 | 房东账号 | ||
| mima | varchar | 200 | 密码 | ||
| fangdongxingming | varchar | 200 | 房东姓名 | ||
| xingbie | varchar | 200 | 性别 | ||
| shenfenzheng | varchar | 200 | 身份证 | ||
| lianxishouji | varchar | 200 | 联系手机 | ||
| fangchanzheng | longtext | 4294967295 | 房产证 | ||
| sfsh | varchar | 200 | 是否审核 | 待审核 | |
| shhf | longtext | 4294967295 | 审核回复 |
表4-23:区
| 字段名称 | 类型 | 长度 | 字段说明 | 主键 | 默认值 |
|---|---|---|---|---|---|
| id | bigint | 主键 | 主键 | ||
| addtime | timestamp | 创建时间 | CURRENT_TIMESTAMP | ||
| qu | varchar | 200 | 区 |
五、系统实现
(一)前台系统****功能模块
当游客打开系统网址时, 首先呈现的是首页界面. 在此处查看到的是房屋租赁系统的导航条上显示的信息包括: 首页、房源详情、公告动态、留言反馈以及后台管理模块;如图5-1所示:

图5-1 系统首页界面图
用户完成注册流程,在注册页面需填写账号名称、密码设置以及确认密码重复输入等内容,并在提交所有信息后将执行注册操作,请参考图5-2

图5-2用户注册界面图
请用户选择登录入口,在登录页面输入用户名和密码后同时点击提交。

图5-3用户登录界面图
当用户点击进入房源信息页面时,在该页面的搜索栏中录入所需的信息项:房屋名称, 房屋类型, 房屋图片, 地址, 状态, 朝向, 面积, 租金, 区域及县名, 户主账号与姓名, 联系电话以及发布日期等信息项。如有需要可先进行补充操作:先收藏该房源;随后可预约看房时间; 同时支持咨询和投诉处理。

图5-4房源信息界面图
(二)后台房东功能模块
房东完成账号注册与登录流程,在注册或登录页面完成信息填写后,并在确认无误的情况下点击提交注册或登录按钮(如图5-5所示)。


图5-5房东注册、房东登录界面图
房东在系统中登录后,则可对首页页面、个人中心页面以及多个功能模块进行操作处理。具体包括房源信息发布与维护相关模块的操作权限设置以及预约安排相关的功能配置;同时还可以完成合同签订模块的核对流程,并提供在线咨询服务模块的具体操作指导;针对咨询反馈处理模块以及申诉处理流程的相关操作规范也有明确规定;此外对于求租信息发布与审核相关的功能配置也一并进行了相应的参数设置工作

图5-6房东功能界面图
(三)后台用户功能模块
用户登录,用户通过登录页面输入信息完成后,并点击登录操作,如图5-7所示。

图5-7用户登录界面图
在用户登录系统后的基础上,在线提供了相应的操作选项或功能模块供使用方完成首页页面、个人中心界面以及订单信息查询与管理等各项事务处理需求,并可实时查看客户评价查询与管理等信息内容,请参考图5-8详细说明

图5-8用户功能界面图
(四)后台管理员功能模块
管理员在访问系统后台时需遵循以下步骤:首先输入账号信息;接着提供密码;随后选择角色;最后完成登录操作。管理员登录界面如图5-9所示。

图5-9管理员登录界面图
当管理员进入系统后台后,在线对首页个人中心用户管理和多个相关功能模块执行相应的操作

图5-10管理员功能界面
管理员进入房东管理页面,在该页面中对房东账号信息(包括房东姓名)、个人性别信息(即身份证)、联系方式(即联系手机)、房产证信息以及审核相关的回复记录(如审核回复)、状态(如审核状态)和审核流程(如审核)等数据项进行查询或执行修改/删除操作,请参阅图5-11所示的操作界面

图5-11房东管理界面图
系统管理员点击进入用户管理模块,在该模块中的用户信息管理页面中(图5-12所示),对用户的各项信息如账号信息、姓名、性别以及邮箱地址等进行数据查询功能的实现,并支持数据修改和删除操作

图5-12用户管理界面图
管理员通过点击"房源信息管理"按钮启动该操作,在房源信息管理页面中对房屋名称、房屋类型等字段进行查询、修改及删除功能的实现,并在相关界面展示结果(如图5-13所示)。

图5-13房源信息管理界面图
系统管理员点击进入预约信息管理页面,在该页面中对房屋名称、房屋类型、房屋地址等信息进行查询或删除具体操作流程,请参考图5-14的操作示意图

图5-14预约信息管理界面图
系统管理员点击进入合同信息管理模块,在‘合同信息管理’页面上完成对房屋名称、房屋类型等字段的信息录入操作。

图5-15合同信息管理界面图
系统管理员在进行相关设置时,在相关业务界面中对房屋所有权人注册信息账号以及房屋所有权人姓名等关键信息进行查询或数据删除操作。
如图5-16所示

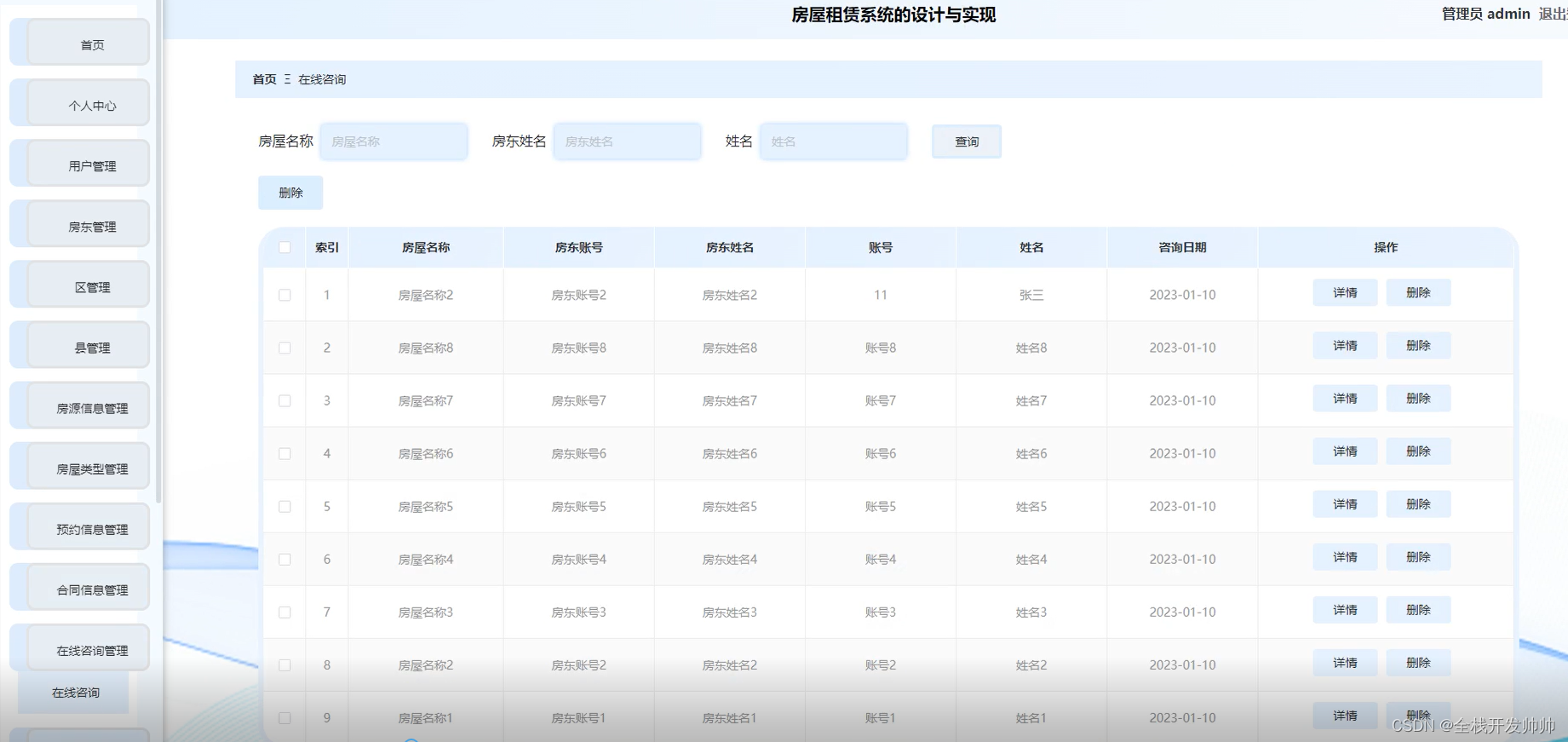
图5-16在线咨询管理界面图
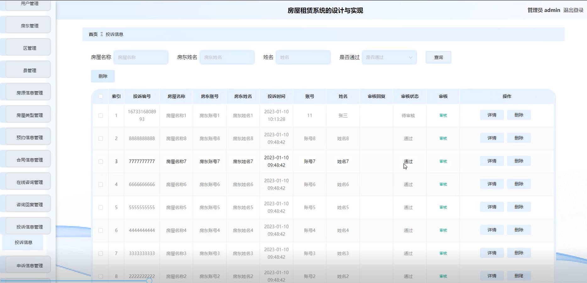
管理员点击打开"投诉信息管理"功能,在该页面中对包含用户投诉编号、房屋详细地址以及相关信息的内容进行筛选与档案整理操作

图5-17投诉信息管理界面图
源码领取:
v关功纵浩 文心海资源库 回复 源码 领取
