计算机毕业设计(附源码)python学生网上请假系统
项目运行
环境配置:
Pychram社区版+ python3.7.7 + Mysql5.7 + HBuilderX+list pip+Navicat11+Django+nodejs。
项目技术:
django + python+ Vue 等等组成,B/S模式 +pychram管理等等。
环境需要
1.运行环境:最好是python3.7.7,我们在这个版本上开发的。其他版本理论上也可以。
2.pycharm环境:pycharm都可以。推荐pycharm社区版;
3.mysql环境:建议是用5.7版本均可
4.硬件环境:windows 7/8/10 1G内存以上;或者 Mac OS;
6.Navcat11:这个版本不限10/11/14/15都可以。;
python毕设帮助,指导,本源码(见文末),调试部署
第5章 系统详细设计
5.1管理员功能模块
管理员登录,通过填写注册时输入的用户名、密码、权限、验证码进行登录,如图5-1所示。

图5-1管理员登录界面图
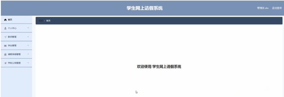
管理员登录进入学生网上请假系统可以查看首页、个人中心、教师管理、学生管理、请假信息管理、学校公告管理等信息进行相应操作,如图5-2所示。

图5-2管理员功能界面图
教师管理,在教师管理页面中可以对索引、工号、密码、姓名、性别、班级、手机、邮箱、照片等信息进行详情或删除等操作,如图5-3所示。

图5-3教师管理界面图
学生管理,在学生管理页面中可以对索引、学号、密码、姓名、性别、班级、手机、邮箱、照片等信息进行详情或删除等操作,如图5-4所示。

图5-4学生管理界面图
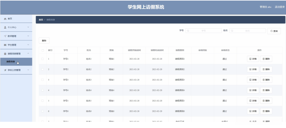
请假信息管理,在请假信息管理页面中可以对索引、学号、姓名、班级、请假开始时间、请假结束时间、请假原因、审核回复、审核状态等信息进行详情或删除等操作,如图5-5所示。

图5-5请假信息管理界面图
学校公告管理,在学校公告管理页面中可以对索引、标题等信息进行详情、修改或删除等操作,如图5-6所示。

图5-6学校公告管理界面图
5.2学生功能模块
学生注册,在学生注册页面中通过填写学号、密码、姓名、班级、手机、邮箱等信息进行注册操作,如图5-7所示。

图5-7学生注册界面图
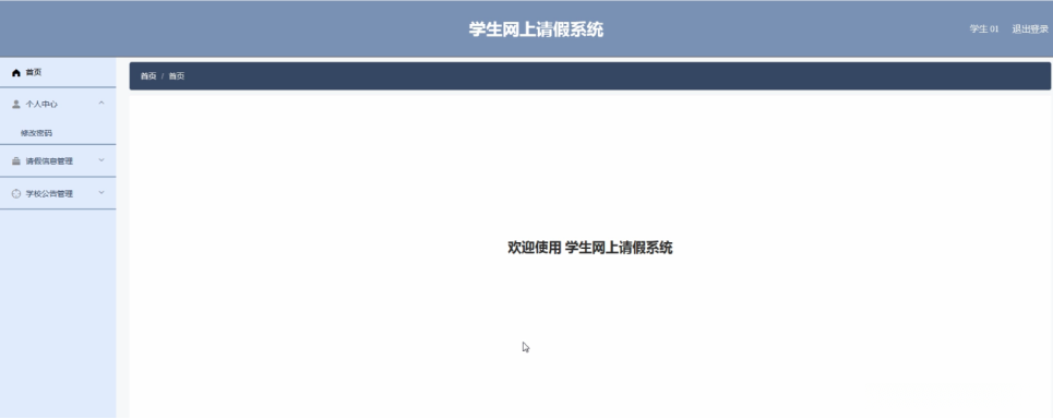
学生登录进入系统可以查看首页、个人中心、请假信息管理、学校公告管理等内容进行相应操作,如图5-8所示。

图5-8学生功能界面图
个人中心,在个人中心页面中通过填写学号、姓名、性别、班级、手机、邮箱、照片等信息进行修改,如图5-9所示。

图5-9个人中心界面图
请假信息管理,在请假信息管理页面中可以对索引、学号、姓名、班级、请假开始时间、请假结束时间、请假原因、审核回复、审核状态等信息进行详情操作,如图5-10所示。

图5-10请假信息管理界面图
学校公告管理,在学校公告管理页面中可以对索引、标题等内容进行详情操作,如图5-11所示。

图5-11学校公告管理界面图
5.3教师功能模块
教师登录进入系统可以查看首页、个人中心、教师管理、学生管理、请假信息管理、学校公告管理等内容进行相应操作,如图5-12所示。

图5-12教师功能界面图
个人中心,在个人中心页面中通过填写工号、姓名、性别、班级、手机、邮箱、照片等信息进行修改,如图5-13所示。

图5-13个人中心界面图
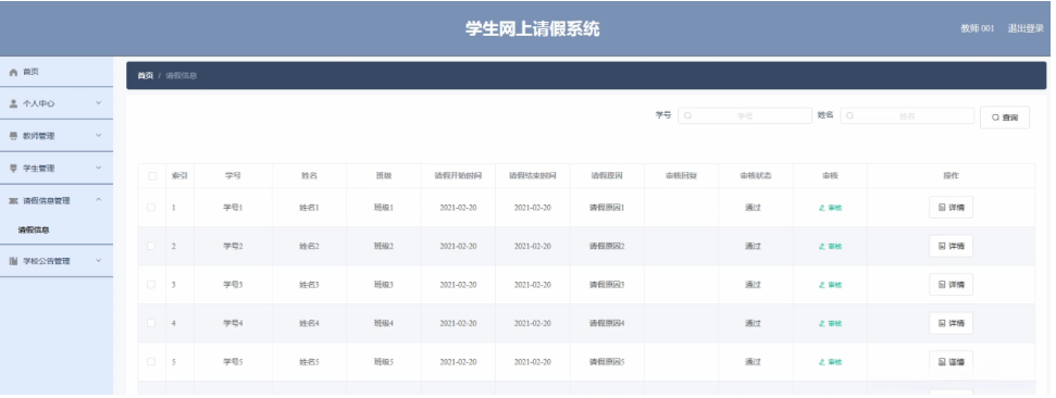
请假信息管理,在请假信息管理页面中可以对索引、学号、姓名、班级、请假开始时间、请假结束时间、请假原因、审核回复、审核状态等信息进行详情操作,如图5-14所示。

图5-14请假信息管理界面图
python毕设帮助,指导,源码获取,调试部署
