计算机毕业设计springboot中学生心理健康管理系统j036n9【附源码+数据库+部署+LW】
本项目包含程序+源码+数据库+LW+调试部署环境,文末可获取一份本项目的java源码和数据库参考。
系统的选题背景和意义
选题背景: 随着社会的发展和进步,中学生心理健康问题日益突出。面对学业压力、人际关系、家庭问题等多重压力,中学生的心理健康问题愈发引起关注。根据统计数据显示,中学生心理健康问题的发生率逐年增加,其中包括焦虑、抑郁、自卑、孤独等不同程度的心理困扰。因此,建立一套科学有效的中学生心理健康管理系统势在必行。
选题意义: 中学生心理健康管理系统的建立具有重要的意义。首先,通过该系统可以及时了解中学生的心理状态,发现并解决潜在的心理问题,为他们提供专业的心理支持和指导。其次,中学生心理健康管理系统可以帮助学校和教师更好地了解学生的心理需求,制定针对性的教育措施,促进学生全面发展。此外,该系统还可以为学生提供丰富的心理健康教育资源,提高他们的心理素质和应对能力,预防和减少心理问题的发生。最后,中学生心理健康管理系统的建立对于社会和家庭也具有积极的影响,为中学生提供更加健康、快乐的成长环境。
以上选题背景和意义内容是根据本选题撰写,非本作品实际的选题背景、意义或功能。各位童鞋可参考用于写开题选题和意义内容切勿直接引用。本作品的实际功能和技术以下列内容为准。
技术栈:
前端Vue:用于构建交互式用户界面。
后端Java开发语言:使用Java作为后端开发语言。
Spring Boot框架:作为快速开发框架,替代了SSM框架,提供自动配置、快速构建等功能。
MySQL 5.7数据库:用于数据存储和管理。
使用Spring Boot,你可以通过依赖管理和自动配置来减少手动配置工作,并使用Spring框架的各种功能,如依赖注入、面向切面编程等。同时,Spring Boot还提供了用于构建RESTful API、集成测试和部署的工具和插件,使得开发过程更加高效和便捷。
3.2系统用例图
用例图,即以用户视角来描述本中学生心理健康管理系统的功能,前面已经分析了本中学生心理健康管理系统的总体设计,讨论了各个方面的需求。下面,将以管理员和学生、教师为例。
管理员的用例图,如图3-1所示。

图3-1管理员用例图
学生的用例图,如图3-2所示。

图3-2 学生用例图
教师的用例图,如图3-3所示。

图3-3教师用例图
3.3系统流程设计
3.3.1 系统开发流程****
中学生心理健康管理系统的设计和开发,首先要对用户的实际使用需求和具体情况进行细致的分析,分析出系统要完成的全部功能,然后再针对整个系统的工作流程和功能进行设计,力求每个模块都能够达到用户的要求,最后通过测试来解决问题,保证系统的稳定和正常的运转,本系统的开发流程如图3-3所示。

图3-3系统开发流程图
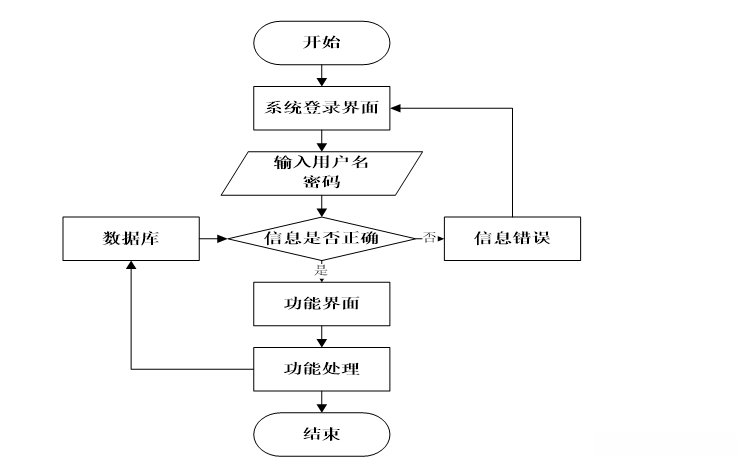
3.3.2 用户登录流程
登录流程实现了管理员和其他用户的登录,在登录页面需要用户填写自己的信息,前端页面会将信息传递给后端接口,然后查询数据库确定该身份有效后登录成功,否则此用户登录失败,需要重新填写信息,进行再次验证,如图3-4所示。

图3-4登录流程图
3.3.3 系统操作流程
系统操作流程分析是软件开发过程中的一个关键环节,它是整个系统整体的运行过程,必须保证其中的每一个步骤都是确定的,这样一个规范的流程图可以使开发者易于理解,快速的投入到接口开发中,从而提升系统开发效率。
同时,流程图还能减少开发者对系统操作流程产生歧义和降低沟通的成本,系统操作流程如图3-5所示。

图3-5系统操作流程图
3.3.4 添加信息流程
系统的正常运行离不开数据的支撑,因此,在本系统中添加了数据插入功能,数据库中数据的缺失,会直接影响到数据的查询结果,查询结果错误又会导致逻辑处理出现偏差,最终导致系统性错误或故障,所以在对系统进行数据添加操作时,必须要对数据进行合法性校验,确定此条数据是否有惟一的主关键字和字段是否允许为空等等,若数据库表中不允许某字段为空,而程序没有进行该字段非空逻辑校验,那么就会出现数据存储失败,可能因此造成严重系统后果。添加信息流程如图3-6所示。

图3-6添加信息流程图
3.3.5 修改信息流程
因为使系统的使用者是人,所以难免会有疏忽,从而造成系统输入的信息有误。或者由于其他原因导致数据发生改变,使得必须对系统内的数据进行相应的调整,所以在程序运行中,数据的修改操作是不可缺少的重要环节。
在进行数据更新时,必须要有一个惟一的主关键字,以便数据库能够查询到相应的数据;另外,还必须遵守数据插入过程的操作规范,以确保数据的正确性。修改信息流程图如图3-7所示。

图3-7修改信息流程图
3.3.6 删除信息流程
删除操作在系统中并非是必须的,可根据用户及系统的需要来决定是否添加删除功能,删除操作就是使用delete语句将数据库中的某一匹配数据删除,因为此操作会导致用户数据丢失,所以为了避免使用者误按删除键,应在用户点击删除按钮时添加一个提示确认弹窗,当用户确定要删除时,再进行数据库的操作,并且在删除操作完成后要对用户进行反馈。删除信息流程图如图3-8所示。

图3-8 删除信息流程图
4系统设计
4.1********系统功能结构图
系统功能结构图是系统设计阶段,系统功能结构图只是这个阶段一个基础,整个系统的架构决定了系统的整体模式,是系统的根据。中学生心理健康管理系统的整个设计结构如图4-1所示。

图4-1系统功能结构图
4.2系统数据库设计
对于中学生心理健康管理系统而言,数据库中最核心的数据就是信息,并且有许多其他关联数据都储存于数据库中。随着时间推移,将发布大量信息于本系统中,届时数据库中也将蕴藏海量数据。一个优秀的数据库设计方案能在保证系统能够高效处理大量数据的同时保证系统的安全性。因此,在本中学生心理健康管理系统设计方案中将数据库的设计摆在重要位置,将数据库设计视为系统设计的重要内容。
4.2.1数据库E-R图
E-R图,是通过用户的想法将一些数据形成一种关系结构,这种关系结构也可视为一种概念模型,而数据库的数据处理可以通过概念模型表现直观反映出来。由于E-R图是从用户的角度设立的模型,因此系统E-R图具有很强的实践意义。
教师信息实体图如图4-2所示:

图4-2教师信息实体图
学生信息实体图如图4-3所示:

图4-3学生信息实体图
调查问卷实体图如图4-4所示:

图4-4调查问卷实体图
学生留言实体图如图4-5所示:

图4-5学生留言实体图
5.2前台首页功能模块
当游客打开系统的网址后,首先看到的就是首页界面。在这里,游客能够看到中学生心理健康管理系统的导航条显示首页、调查问卷、健康文章、心理咨询、后台管理、个人中心等。系统首页界面如图5-1所示:

图5-1 系统首页界面
这是一个学生注册的界面,当学生没有账户时可以通过注册来登录系统,只需要根据相应的提示,输入用户账号、密码、确认密码、用户姓名、头像、性别、手机号码等信息即可。学生注册界面如图5-2所示:

图5-2 学生注册界面
这是学生登录界面,学生在登录页面填写账号或者密码,点击登录,如图5-3所示:

图5-3学生登录页面
学生点击出调查问卷页面的搜索栏输入标题、问卷类型进行查询,然后可以查看标题、图片、问卷类型、发布时间、教师工号、教师姓名等信息,如果有需要可以进行填写等操作,如图5-4所示:

图5-4调查问卷页面
在个人中心页面可以输入个人详细信息,进行信息更新操作,如图5-5所示。

图5-5个人中心界面
5.3管理员功能模块
后台管理员登录,在登录页面选择需要登录的角色,在正确输入用户名和密码后,点击登录操作;如图5-6所示。

图5-6 后台管理员登录界面
管理员进入系统主页面,主要功能包括对系统首页、个人中心、学生管理、教师管理、问卷类型管理、调查问卷管理、完成问卷管理、健康文章管理、学生留言管理、教师留言管理、系统管理等进行操作。管理员主页面如图5-7所示:

图5-7 管理员主界面
管理员点击学生管理:在学生管理页面,可以对学生账号、学生姓名、性别、头像、年龄、电话号码等信息,进行查询或者新增、删除学生信息等操作,如图5-8所示:
图5-8学生管理界面
管理员点击教师管理:在教师管理页面,可以对教师工号、教师姓名、性别、头像、电话号码等信息,进行查询或者新增、删除教师信息等操作,如图5-9所示:
图5-9教师管理界面
管理员点击调查问卷管理:在调查问卷管理页面,可以对标题、图片、问卷类型、发布时间、教师工号、教师姓名等信息,进行查询或者删除调查问卷等操作,如图5-10所示:
图5-10调查问卷管理界面
管理员点击完成问卷管理:在完成问卷管理页面,可以对填写编号、标题、问卷类型、完成时间、学生账号、学生姓名、教师工号、教师姓名等信息,进行查询或者删除完成问卷等操作,如图5-11所示:
图5-11完成问卷管理界面
管理员点击健康文章管理:在健康文章管理页面,可以对文章编号、文章名称、图片、教师工号、教师姓名等信息,进行查询或者删除健康文章等操作,如图5-12所示:
图5-12健康文章管理界面
管理员点学生留言管理:在学生留言管理页面,可以对留言编号、留言时间、学生账号、学生姓名、教师工号、教师姓名、回复等信息,进行查询或者删除学生留言等操作,如图5-13所示:
图5-13学生留言管理界面
管理员点教师留言管理:在教师留言管理页面,可以对留言编号、留言时间、教师工号、教师姓名、学生账号、学生姓名、回复等信息,进行查询或者删除教师留言等操作,如图5-14所示:
图5-14教师留言管理界面
5.4学生功能模块
学生点击后台管理,然后页面跳转到系统主页面,主要功能包括对系统首页、个人中心、完成问卷管理、学生留言管理、教师留言管理等进行操作。用户主页面如图5-15所示:

图5-15 学生主界面
