IEEE 80211协议族
目录
IEEE 802标准
IEEE 802.11标准
IEEE 802.11与OSI模型
802.11 物理层标准
物理层调制格式
直序扩频
正交频分复用(OFDM)
速率表
信道资源
帧结构
名词
信噪比 SNR(signal-to-noice ratio)
功率单位
路径损耗
多重路径衰落(multipath fading)或多重路径干扰(multipath interference)
RF系统
直接序列物理层: DSSS与HR/DSSS
展频码
差分相移键控(DPSK)
PLCP物理层收敛程序
CS/CCA
DS PHY参数
CDMA
IEEE 802标准
802.2 逻辑链路控制
802.3 以太网-CSMA/CD接入方法
802.10 安全
802.11 无线局域网
IEEE 802.11标准
802.11 定义微波和红外线的物理层和MAC子层(2.4GHz,1Mbit/s或2Mbit/s,20MHz 1997)
3种PHY:
- 以1Mbit/s工作的散射红外线
 - 以2Mbit/s工作的跳频扩频技术
 - 以2Mbit/s工作的直序扩频技术
 
802.11a 定义了微波物理层及MAC子层(5GHz,54Mbit/s,20MHz,1999, OFDM)
802.11b 物理层补充DSSS(2.4GHz,11Mbit/s,20MHz,1999)
802.11g 物理层补充OFDM(2.4GHz,54Mbit/s,20MHz, 2003)
802.11n 导入MIMO(多输入输出)技术(2.4G/5GHz,11: ht20-65, ht40-150, 最大44: 600, 20MHz/40MHz, 最大4MIMO 2007)
802.11ac 5GHz, 引入MU-MIMO。 Enhancements for Very High Throughput for Operation in Bands below 6 GHz. (5G/Hz, 2013 Wave 1 ,2016 Wave 2 , 11: ht40-200, ht80-433.3, vht160-866, 最大88: 6928, 40/80/160MHz, 最大8MIMO)
802.11e 对服务等级QoS的支持(2004)
802.11d 关于国际间漫游的规范(2000)
802.11k 提供无线资源管理. 为WLAN信道选择,漫游服务和传输功率控制提供了标准(2008)
802.11r 快速漫游。Fast BSS Transition。旨在减少漫游期间身份验证所需的时间(2008)
[CCKM(Cisco Centralized Key Management ) https://www.cisco.com/c/en/us/support/docs/wireless-mobility/wireless-lan-wlan/116493-technote-technology-00.html#anc8 ]
802.11v 无线网络管理。负载平衡,加快网络的部署(2011)
802.11ai Fast Initial Link Setup(2016)
802.11ad Enhancements for Very High Throughput in the 60 GHz Band(2012)
802.11ay Based mmWave WLANs(2018/2019)
802.11i security mechanisms for IEEE 802.11. security association management protocols called the 4-Way Handshake and the Group Key Handshake. e.g. WEP/WPA/WPA2, TKIP/CCMP (2004)
802.11h DFS and TPM for 5G in EUrope. Spectrum and Transmit Power Management Extensions in the 5 GHz Band in Europe(2003)
802.11h是对802.11a的补充,确保其符合关于5GHz无线局域网的欧洲标准。802.11家族是为无线局域网提供的标准,802.11h则是对这个家族的的新发展。802.11h主要是用于解决由于在某些场所,尤其是军事雷达系统和医疗设备,使用802.11a所产生的干扰。
802.11h规则是由国际电信联盟提出的,这主要是为了克服欧洲卫星通信网络的干扰。
802.11h涉及两种技术,一种是动态频率选择 (DFS),它用于检测在一个信道上有其他信号出现,当这样的信号被检测到时,就会自动将网络转移到另一个信道。另一种技术是传输功率控制(TPC),它主要是减少网络传输的无线频率输出功率,使系统间干扰最小,而且还可以达到更好的网络性能。
802.11w Protected Management Frames (2007)
IEEE 802.11与OSI模型


802.11标准只处理OSI参考模型的最低的两层:物理层和数据链路层(或介质访问控制层)。
各项802.11标准的差异只在于物理层特点。因为采用802.11标准的不同技术的设备硬件的设计要求在物理层实现。
MAC层为在网络实体之间传送数据、检测以及可能校正物理层可能发生的错误提供了功能手段和程序手段。它可以访问不同类型的物理层上基于争用的业务或无争用的业务。在MAC层中,其职责分为MAC子层和MAC管理子层。MAC子层定义了访问控制和分组格式。MAC管理子层定义了功率管理、安全和漫游服务。
物理层规定了设备的电气参数和物理参数。特别是,它规定了设备与传输介质之间的关系。物理层分为三个子层:
- 物理层收敛程序(PLCP, Physical Layer Convergence Procedure)作为适配层使用。PLCP 会为来自MAC层的准备传送的所有帧加上自己的标头;PLCP负责无干扰信道评估(CCA)模式,为不同的物理层技术构建分组。
 - 物理介质相关(PMD, Physical Medium Dependent)层规定了调制技术和编码技术,PMD 负责将 PLCP 所传来的每个位元,利用天线传送至空中。
 - PYH管理层负责信道调谐等管理问题。
 
电台管理子层负责协调MAC层与PHY层之间的交互。
802.11 物理层标准

802.11
- IR:红外线(Infrared light, 简称IR)物理层。 便宜,不受限制
 - FHSS:跳频(Frequency-hopping, 简称FH)扩频(spread-spectrum)无线电波物理层(radio PHY)
 - DSSS:直接序列(Direct-sequence,简称DS)扩频无线电波物理层
 
802.11a
- OFDM:正交分频多工(Orthogonal Frequency Division Multiplexing,简称 OFDM)物理层
 
802.11b
- DSSS:高速直接序列(High-Rate Direct Sequence,简称 HR/DS 或 HR/DSSS)物理层。
 
802.11g
- ERP:延伸速率物理层(Extended Rate PHY,简称 ERP)
 - 基本上ERP PHY跟OFDM PHY没什么两样,只不过运作在较低的频率上(11g-ERP, 11a-OFDM)。
 
802.11n
- MIMO:俗称多进多出(MIMO )或高传输量(High-Throughput) 物理层
 
MIMO使用多天线,以想干方式解析的信息数量要超过使用单天线。其实现方式之一是空分复用,即在空间中复用多条独立的数据流,并在一条频谱带宽的信道内同时传送这些数据流。

802.11ac
- MU-MIMO
 
物理层调制格式
物理层调制格式和编码速率决定着怎样在空中以什么数据速率发送802.11数据。

直序扩频
直序扩频 (DSSS)与其他扩频技术一样,发送的信号占的带宽要超过调制载波或广播频率的信息信号。
扩频一词源于载波信号发生在设备发送频率的整个带宽(频谱)上这一事实。
DSSS传输把发送的数据乘以一个“噪声”信号。这个噪声信号是由1和-1两个值组成的伪随机序列,其频率远远高于原始信号。
得到的信号类似于白噪声,与“静态”的音频记录类似。然后可以使用这种类似噪声的信号,通过把它乘以相同的伪随机号(PN)顺序(1×1=1,-1×-1=1),在接收端精确的重建原始数据。这个流程称为“反扩”,它以数字方式在发送的PN顺序与接收机认为发射机正在使用的PN顺序之间建立关联。
增强信道上信噪比的效应称为处理增益。通过采用更长的PN顺序及每个位更多的码片,可以进一步扩大这种效应,但是来生产PN顺序的物理设备会给可以实现的处理增益带来实际限制。
如果一台不希望的发射机在同一信道上传送信号,但采用不同的PN顺序(或根本没有顺序),反扩流程对该信号不会产生处理增益。这种效益是DSSS码分多址(CDMA)特性的基础,允许多台发射机在PN顺序交叉关联特点的极限范围内共享同一条信道。

上图显示了发送的波形图以载频为中心大体呈钟状,就像正常AM传输一样,但有一点除外,增加的噪声会导致分布远远宽于AM传输。相比之下,跳频扩频以伪随机方式重新调谐载波,而不是在数据中增加伪随机噪声,后者会得到正态频率分布,其宽度有伪随机数字发生器的输出范围确定。

802.11 DSSS调制采用一种两阶段流程。一、1位或2位数据采用差分BPSK(DBPSK)或差分QPSK(DQPSK)方式编码。这两种编码方式都以1M符号/秒的速度生成复数值IQ符号。由于DBPSK每个符号承载1个位,因此它会得到1Mbps数据吞吐量,DQPSK则得到2Mbps.DQPSK更高效的使用频谱,但降低了抗噪声和抗其他干扰的能力。根据差分编码,其应用11码片巴克码扩展,把速率为1M符号/秒的符号转换成11M码片/秒的码片顺序。然后,这些码片在RF载波上调制并进行传输。
为把数据速率提高到2Mbps以上,802.11b还规定了互补键控(CCK)技术,其中包括适用于5.5Mbps和11Mbps数据速率的一套8片代码字。CCK代码自拥有独特的数学属性,即使在存在明显噪声和多径干扰时,接收机仍正确把它们区分开来。5.5Mbps速率使用CCK,每个符号编码4个比特;11Mbps速率每个符号编码8个比特。这两种速率都采用QPSK作为调制技术,可以实现更高的数据速率。
正交频分复用(OFDM)
OFDM是一种在多个副载频上编码数字数据的方法。


前向纠错(FEC)或信道编码技术用来控制通过不可靠的或有噪声的通信信道传输数据时的错误。使用数据冗余校验方式。
在数字通信中,码片是DSSS代码的一个脉冲。代码的码片速率是代码传送(或接受)的每秒脉冲数量(每秒码片数)。码片速率大于符号速率,也就是说,多个码片代表一个符号。
调制和编码方式(MCS):这个高吞吐量(HT)物理层参数的一个指标,其中由调制顺序(BPSK, QPSK, 16-QAM, 64-QAM, etc)和前向纠错(FEC)编码速率(1/2, 2/3, 3/4, 5/6, etc)组成。


refer to: https://wenku.baidu.com/view/dbabd4b2e009581b6ad9eb40.html
速率表
802.11n速率计算方式
以802.11g的54M最大速率作为参照来分析。802.11g工作在2.4G频段下,能够支持OFDM和CCK两种调制方式,提供16-QAM、64-QAM和BPSK、QPSK四种编码方式,我们通常说的54M速率就是在2.4G频段下,通过OFDM调制,采用64-QAM编码的情况下实现的。其中影响速率的计算因子如下:
- 802.11g采用的OFDM能够提供52个子载波信道(其中只有48个用于数据传输)
 - 所采用的64-QAM编码方式能够在每个子载波信道通过一次传输过程携带6bit的数据位
 - 64-QAM编码每次传输提供3/4的码率(即有效数据容量)
 - 一次传输占用的时间固定为4微秒
 
根据以上的计算因子,802.11g能提供的最大速率计算如下: (1秒/4微秒)×(6bit×48×3/4)=54Mbit/s
802.11n是如何通过各项技术来提升最大速率的
- 
802.11n在11g的基础上对OFDM调制方式进行了优化,将子载波信道的数量从 52个提升至56个(其中只有52个用于数据传输)
最大速率变成:(1秒/4微秒)×(6bit×52×3/4)=58.5Mbit/s - 
802.11n对64-QAM编码技术进行了优化,将每次传输提供的码率从3/4提升至5/6
最大速率变成:(1秒/4微秒)×(6bit×52×5/6)=65Mbit/s - 
802.11n可以工作的频宽从11g的20MHz变为40MHz,这样OFDM所能提供的子 载波信道数量从56个进一步提升为112个,其中用来传输数据的子信道数量为108个
最大速率变成:(1秒/4微秒)×(6bit×108×5/6)=135Mbit/s - 
802.11n在条件允许的基础上(当实际环境中的多径效应较小时)将OFDM两次传 输之间的保护间隔时间从11a/b/g的800ns缩短为400ns
最大速率提升至150Mbit/s - 
采用了MIMO技术,通过空间复用技术,在1-4条空间流的环境下最大速率 将以150Mbit/s的1-4倍进行增长
即2条空间流达到300Mbit/s、3条空间流达到450Mbit/s、4条空间流达到600Mbit/s。 
速率表
11n

11ac



信道资源
2.4GHz: 802.11b、802.11g和802.11n标准的低频部分采用位于ISM频段中的2.400-2.500GHz频谱。

5GHz: 802.11a、802.11n和802.11ac标准采用管制更加严格的4.915-5.825GHz频段。(由于各国法规差异,5.725-5.875GHz频谱的信道编号直观度较差)
每个频谱都细分成多条拥有一个中心频率和带宽的信道。
信道带宽 : DSSS使用22MHz带宽的信道, OFDM使用20MHz带宽的信道。11n支持20/40MHz, 11ac必须支持20/40/80(两天相邻不重叠的40组成)MHz,可选支持160MHz(80+80,两个80可以相邻,也可以不相邻)。

频谱模板 : 802.11标准制定了一个频谱模板,规定了每个信道中允许的功率分配。频谱模板要求信号以制定的频率偏置衰减到特定电平(从峰值幅度)。下图是802.11b标准使用的频谱模板,衰减很快,但仍会辐射到其他信道。

下图是802.11ac标准使用的频谱模板。OFDM可以实现更密集的频谱效率,从而实现高于802.11b的BPSK/QPSK技术的数据吞吐量。

重叠信道
鉴于信道之间的间隔,任意信道上的重叠信号应被足够衰减,以对任何其他信道上的发射机干扰达到最小。
信道之间重叠可能会导致信号质量和吞吐量不可接受的劣化。

802.11b/g/n信道重叠进一步提高了ISM使用的复杂度。在802.11b/g/n无线电传送信号时,被调制的信号设计出从信道中心频率落在其带宽内。但是,RF能量最终会“排放”到多条邻道的频率中。在ISM频段的40MHz 802.11n信道上传送数据加剧了这种稀缺性,它占用9条信道:中心频率外加左右各4条信道。在拥挤的ISM频段中很少能找到没有使用的邻道,因此,40MHz 802.11n操作极可能会干扰现有的802.11b/g接入点。为解决这个问题,使用40MHz信道的802.11n接入点必须监听传统设备,提供共存机制。这也是很多wifi设备厂商在硬件设计时,不支持2.4G 40MHz的原因。

各国法规
IEEE使用“regdomain”一词表示法律规定的地区。不同国家规定了不同水平的允许的发射机功率、可以占用信道的时间以及提供的不同信道。


DFS动态频率选择,避免附近信道的同道干扰和邻道干扰
TPC发送功率控制
SRD短程设备,规定了使用这条信道的设备允许的功率电平。
帧结构
802.11标准规定了数据传输及无线链路管理和控制使用的“帧”类型。这些帧分为三种功能:管理帧、控制帧和数据帧。

每个帧包含一个MAC包头、净荷和帧校验序列(FCS)。某些帧可能没有净荷。MAC包头的前两个字节构成了一个帧控制字段,指明了形式和功能。帧控制字段进一步分为下列子字段:
- 协议版本: 2位,为0.
 - 类型: 2位,指明wlan帧的类型: 控制帧、数据帧、管理帧
 - 子类型: 4位,进一步区分各个帧,类型和子类型一起识别具体帧。
 - ToDS和FromDS: 各1位。管理帧和控制帧为0.
 - More Fragments:在包分为多个帧传输时设置,除最后的帧外,每个帧都设置该位。
 - 重传:retry。重传时,帮助消除重复帧。
 - 功率管理: 指明帧交换结束后发送方的功率管理状态。ap必须管理连接,永远不能设置节电。
 - More data:用来缓冲分布式系统中收到的帧。ap使用这个位,便于sta使用节电模式。它表明至少有一个帧,并能满足连接的所有sta。
 - WEP:
 - Order: 只有采用“严格排序”传送时才设置该位。帧和段并不是一直按顺序发送的,因为它会引起传输性能代价。
 - Duration ID: 2个字节。可采用三种形式之一:持续时间、无争用时间周期(CFP)和关联号(AID)。
 - MAC地址:一个802.11帧最多有4个地址字段,每个字段放一个mac地址。1是目的地址,2是源地址,3是接收端地址,4是发送端地址。
 - Sequence Control: 2个字节。用来识别消息顺序,消除重复帧。前4位段号,后12位是序列号。
 - 可选字段: 2个字节。质量服务控制字段,是802.11e增加的字段。
 - Frame body:帧体,长度可变,0~2304字节
 - FCS:最后4个字节。帧校验序列
 
下图是抓包到的beacon实例:

管理帧 Management frames(Type=00):
- 0000 Association request(连接要求)
 - 0001 Association response(连接应答)
 - 0010 Reassociation request(重新连接要求)
 - 0011 Reassociation response(重新连接应答)
 - 0100 Probe request(探查要求)
 - 0101 Probe response(探查应答)
 - 1000 Beacon(导引信号)
 - 1001 Announcement traffic indication message (ATIM)(数据代传指示通知信号)
 - 1010 Disassociation(解除连接)
 - 1011 Authentication(身份验证)
 - 1100 Deauthentication(解除认证)
 
Control frames( 控 制 帧 :Type=01)
- 1010 Power Save-Poll(省电模式-轮询)
 - 1011 RTS(请求发送)
 - 1100 CTS(允许发送)
 - 1101 ACK(应答)
 - 1110 CF-End(免竞争期间结束)
 - 1111 CF-End(免竞争期间结束)+CF-Ack(免竞争期间回应)
 
Data frames ( 数 据 帧 :Type=10)
- 0000 Data(数据)
 - 0001 Data+CF-Ack
 - 0010 Data+CF-Poll
 - 0011 Data+CF-Ack+CF-Poll
 - 0100 Null data (无数据:未发送数据)
 - 0101 CF-Ack (未发送数据)
 - 0110 CF-Poll (未发送数据)
 - 0111 Data+CF-Ack+CF-Poll
 - 1000~1111 QoS Data

 
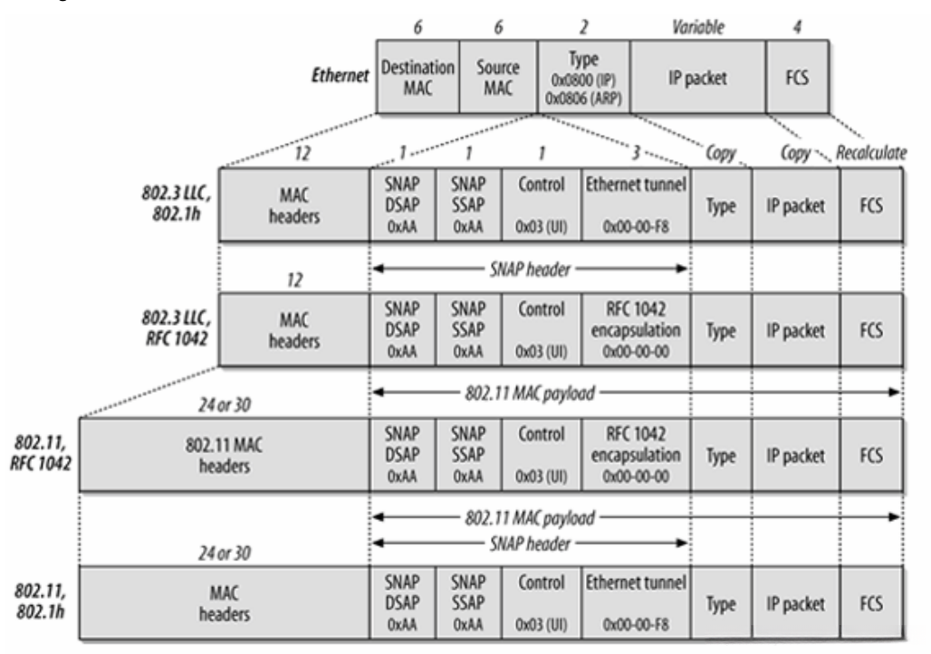
802.11对上层协议的封装

omnipeek抓包flags:
capture status:
- T: Trigger packets
 - D: Dropped packets
 
Packet Errors:
- C: CRC
 - I: Decryption
 - R: Radio
 - +: Retransmission
 
Packet Information:
- *: Management
 - #: Control
 - W: Encrypted
 - P: Privacy enabled
 - A: Aggregated
 
名词
信噪比 SNR(signal-to-noice ratio)
信噪比,为有用信号功率(Power of Signal)与噪声功率(Power of Noise)的比。因此为幅度(Amplitude)比的平方。

它的单位一般使用分贝,其值为十倍对数信号与噪声功率比:

其中:
 为信号功率(Power of Signal)。
 为噪声功率(Power of Noise)。
 为信号幅度(Amplitude of Signal)。
 为噪声幅度(Amplitude of Noise)。
还有一个单位dBm ,可看做是用来衡量能量的一个绝对量,以1mW为基准。
信号峰值(the peak of the signal)与杂讯基准(noise floor)之间的差异值来表示讯噪比。

功率单位
dBm 是一个考征功率绝对值的值,计算公式为:10lgP(功率值/1mw)。
[例1] 如果发射功率P为1mw,折算为dBm后为0dBm.
dB 是一个表征相对值的值,当考虑甲的功率相比于乙功率大或小多少个dB时,按下面计算公式:10lg(甲功率/乙功率)
[例1] 甲功率比乙功率大一倍,那么10lg(甲功率/乙功率)=10lg2=3dB。也就是说,甲的功率比乙的功率大3 dB。
[例2] 如果甲的功率为46dBm,乙的功率为40dBm,则可以说,甲比乙大6 dB。
路径损耗
多重路径衰落(multipath fading)或多重路径干扰(multipath interference)
波的叠加性(superposition)和多路径传播引起。

有时候,调整接收端的方向或摆设位置, 即可解决多重干扰问题。
实例:使用屏蔽箱测wlan吞吐时,若屏蔽箱内周围没有吸收波的材料时,会导致波的反射,会因为多路径干扰导致测试结果不理想。
RF系统
天线antenna 。将电路信号转换为电波,将电波反转为电路信号。

天线的长短取决于频率:频率愈高,天线愈短。
每种频率可以使用的简易型最短天线长度为波长的一半(虽然天线工程师可以运用一些技巧进一步缩短天线)
全向型(omnidirectional)天线;指向型(directional)天线
放大器。 用于增强信号,以分贝(dB)为测量单位。
分为低杂讯放大器(LNA, Low-Noise amplifier)、高功率放大器(HPA, High-power amplifier)、和其他种类。
直接序列物理层: DSSS与HR/DSSS
直接序列技术的基本运作方式,是通过精确的控制将 RF 能量分散至某个宽频频段。当无线电载波的变动被分散至较宽的频段时,接收器可以通过相关处理(corelation process)找出变动何在。

展频码
展频码亦称为准随机杂讯码(PN code)。
80211采用 11 个位元 Barker word 做为展频码,DSSS以展频码对数据串流作处理。
差分相移键控(DPSK)
差分相移键控(DPSK, Differential phase shift keying)是 802.11 直接序列系统的基础。它是以传输信号的相位差对数据进行编码。
差分二进制相移键控(DBPSK)
形式最简单的 PSK 使用两种载波,它们彼此偏移半个周期。其中一个波称为参考波(reference wave),所对应的编码为 0。偏移半个周期的波,所对应的编码为 1。
DBPSK 受限于每个讯符只能编码一个位元。
差分正交相移键控(DQPSK), 亦称四相位差调制
采用一个基准波与三个偏移波,每个波偏移四分之一周期。
以每个讯符编码数个位元。
PLCP物理层收敛程序
DS PHY 所使用的 PLCP 会在 MAC 传来的帧之前加上标头.
CS/CCA
CS: Carrier Sense 载波侦听
CCA (Clear Channel Assessment) 空闲信道评估
refer:<>
DS PHY参数

互补码调制(CCK)
互补码调制(Complementary code keying,简称 CCK)将缀片串流(chip stream)割分为一系列以8位元构成的编码讯符(code symbol)。在每个编码字中编码 4 或 8 个位元,因此数据总传输量 5.5 Mbp 或 11 Mbps。
高速直接序列物理层(HR/DSSS PHY)
以 11Mbps 运行的高速物理层被简称为 HR/DSSS
以 1.0 .Mbps 或 2.0 Mbps 进行传输; 以 CCK 进行 5.5 Mbps 的传输; 以 CCK 进行 11 Mbps 的传输
HR/DSSS PHY 的特性


CDMA
分码多工( code division Multiple access ,简称 CDMA )
