(附源码)计算机毕业设计springboot智慧社区养老服务平台73miu
项目运行环境配置:
Java JDK 1.8 + Tomcat 7.0 + MySQL + HBuilderX(支持开发环境包括WebStorm等工具) + Eclipse及IntelliJ IDEA、Eclipse、MyEclipse、Spring Boot等开发环境的支持
项目技术:
Spring Boot与MyBatis结合使用,并基于Maven构建框架,在MySQL数据库版本为5.7或8.0的基础上集成HTML、CSS以及JavaScript等技术。基于B/S架构,并采用Maven进行项目管理方案的构建。
环境需要
建议使用的运行环境为Java JDK 1.8。在该平台进行开发和测试时,请确保配置正确以支持该版本。虽然未经过测试,但理论支持其他版本
2.IDE环境:IDEA,Eclipse,Myeclipse都可以。推荐IDEA;
3.tomcat环境:Tomcat 7.x,8.x,9.x版本均可
4.硬件环境:windows 7/8/10 4G内存以上;或者 Mac OS;
- 是否属于 Maven 项目: 否;检查源码目录中是否存在 pom.xml 文件;如果存在,则判定为 Maven 项目;否则判定为非 Maven 项目
6.数据库:MySql 5.7/8.0等版本均可;
毕设帮助,指导,本源码分享,调试部署**(见文末)******
3.2系统功能需求****
功能需求分析的主要任务包括通过对智慧社区养老服务平台进行深入调研和系统分析来全面掌握其运作模式。在深入了解各类用户的具体需求后,并充分考虑未来可能出现的变化和发展方向的基础上制定相应的数据库设计方案。
3.2.1 老人功能模块
当老年用户登录后,在系统中能够访问首页、个人中心以及亲属信息、家政服务、健康档案和检测记录等功能区域,并可进行收藏功能的设置。如附图3-2所示:

图3-1 老年用户模块 elderly user module

图3-2 管理员用例图
3.3系统流程分析
3.3.1操作流程
对系统的登录流程进行分析时会考察其包含的问题识别能力以及系统的可行性和可操作性等关键要素,并在此基础上优化调整相应的设计方案以实现系统的最佳运行状态。具体而言,在注册与登录环节作为核心关注点时会实施一系列流程测试来保证数据库数据的一致性和完整性;这些测试将有助于全面把控系统内信息管理的安全性并确保信息输入输出能够正常转换处理。随后通过实际操作完成对流程图的设计与绘制工作如图所示:图3-3 登录流程图

图3-3登录流程图
3.3.2添加信息流程
流程管理员可对指定的老年人等进行数据录入。老年人则可依据权限范围完成相关数据录入。录入完成后系统将自动生成并核验相关信息与数据内容。录入无误时其相关信息会被存入数据库中而录入出现错误则将导致无法完成当前操作并提示需重新录入相关信息如图3-4所示

图3-4添加信息流程图
3.3.3删除信息流程
该系统管理员可对老年用户的信息进行批量删除操作,在需要删除的信息列表中勾选相关项后点击"开始清除"按钮,在线界面将显示当前已选项目标并弹出"确认清除"对话框。随后系统将提示"清除当前选定项目目标"的操作是否会永久断开数据链路?若点击确定则将执行数据清除操作并同步从数据库中抹去相应记录;若选择取消则返回当前状态;清除数据后该功能模块将重新加载最新的数据包并完成断开状态设置

图3-5删除信息流程图
4系统总体设计****
4.1 系统体系结构
该平台主要采用结构化开发手段。该方法的优势在于控制性较强,在应用过程中充分体现了结构化和模块化的设计理念,并采取了由上而下的设计思路,在应用过程中对系统的架构与功能模块进行了科学划分。在应用过程中各功能模块相互独立,并且便于系统的维护与运行
本系统遵循B/S架构遵循三层组织架构即浏览器层服务端层以及客户端层计算机技术发展速度极快过去主要采用C/S架构即前端与后端分离但随着网页技术的进步越来越多用户倾向于使用浏览器现在网页技术可以在浏览器中实现令人惊艳的效果过去单一低调的客户端界面已经无法满足现代用户需求在B/S架构下技术人员能够更加轻松地设计出符合用户需求的工作界面页面代码通过浏览器解析展示而无需在客户端处理事务逻辑服务端则承担起处理事务逻辑的功能这样可以使客户端免受过重负担只需提供展示界面即可对于维护与升级工作开发人员同样具备便利性只需在服务端进行维护即可使用跨平台性极强的Java语言这种开发模式更加高效合理地划分了系统模块使得各模块之间相互独立每个模块都可以独立运行包括解释执行调试与修改工作从而将复杂的系统设计变得更加简单
这些功能能够充足满足智慧社区养老服务平台的需求。该系统的功能较为全面,请参见附图4-1所示的系统功能架构图。

图4-1系统功能结构图
4.2数据库设计****
本系统以MySQL为数据库核心,并基于此设计老人注册信息登记表以及实现文件上传管理的相关表格等
4.2.1 数据库概念结构设计
基于用户需求而形成的concept structure design is created through the most common ER method to describe data models for database conceptual design. First, local ER patterns are planned and constructed, which are then integrated into a global data model after these local patterns are combined. Subsequently, the conceptual model is converted into the corresponding logical model. By separating concept design from the design process, the overall complexity is reduced and becomes independent of specific DBMS constraints.
1.所有实体和属性的定义如下所示。
检测信息实体属性图,如图4-2所示。

图4-2 检测信息实体属性图
留言反馈信息实体属性图,如图4-3所示:

图4-3留言反馈信息实体属性图
家政服务信息实体属性图,如图4-4所示:

图4-4家政服务信息实体属性图
家属信息实体属性图,如图4-5所示:

图4-5家属信息实体属性图
5.1前台******首页的设计**********
此页面代表智慧社区养老服务平台的起始页面。设计要求界面简洁直观且易于操作,并具备良好的兼容性。在设计过程中需优先考虑标准化方案的同时致力于提升整体 interface 设计质量。此原则旨在避免因美观优化而影响用户体验。该平台用户可在该页面完成注册及基本功能使用,并通过顶部导航栏进入各功能模块。
前台首页页面主要包含首页业务模块以及家政服务模块等其他功能模块,并根据具体情况进行详细配置;如图5-1所示。

图5-1前台首页界面图
老年人注册流程如下进行:首先,在老人注册页面上进行操作时,请您依次输入用户名、密码以及再次输入密码等基本身份验证信息;随后,请您详细填写个人基本信息包括姓名、年龄以及患病史等内容;同时,请您提供必要的身份证明文件如身份证件;此外,请确保联系人信息及联系电话无误并提交家庭住址等相关地址信息;完成上述所有必要项后即可完成老人注册流程

图5-2老人注册界面图
在老年人登录页面中, 通过填写账号、密码及相关身份验证信息, 完成老年人的登录操作, 如图5-3所示

图5-3老人登录界面图
在个人中心页面可以录入用户名、姓名等信息,并完成更新操作;完成所有设置后可退出登录,并对我的收藏进行管理(如图5-4所示)。

图5-4个人中心界面图
在留言反馈页面中浏览并检查用户名、留言内容(如有多个),回复内容及图片信息后,请及时提交操作(如图5-5所示)。

图5-5留言反馈界面图
在家电服务页面浏览产品名称与分类信息,并查看相关图片与状态更新情况。完成预约流程及收藏感兴趣的服务内容,请参考图5-6。

图5-6家政服务界面图
5.2管理员功能模块
系统管理员账号进行登录,在进入系统前,在指定的登录页面上按照规定填写用户名和密码,并同时选择相应的角色和其他相关信息。接着点击'提交'或提交认证按钮完成账号认证流程(如图5-7所示)。

图5-7管理员登录界面图
在成功登录系统后,则可为用户赋予相应的操作权限,并包含但不限于首页, 个人中心, 老人管理, 家属信息管理, 家政服务管理和预约, 健康信息管理和检测, 老人档案管理和留言反馈等模块的操作权限。

图5-8管理员功能界图面
在老人信息管理系统中,在该页面中可以执行注册信息填写(用户名、姓名等)、健康状况记录(患病史)、个人资料完善(身份证号码等),以及账户管理(联系人信息)等内容的具体操作步骤,请参考图5-9示意图。

图5-9老人管理界面图
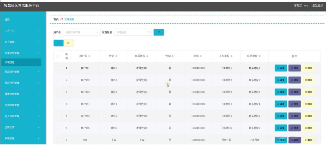
在家庭信息管理页面上支持用户通过该页面实现账号名称(用户名)、个人姓名(姓名)、家庭成员姓名(家属姓名)、性别标识(性别)、联系方式(电话)、所属单位(工作单位)及居住地址(联系地址)等核心数据项的基本查询与管理功能。具体包括但不限于详细信息查看(详情)、数据更新设置(修改)及数据清空(删除)等功能,并提供相关操作界面示意图如图5-10所示。

图5-10家属信息管理界面图
在家政服务管理页面中可以对以下功能项进行操作:包括项目名称字段、服务类型设置、图片上传入口以及订单状态信息模块等具体内容。用户可通过点击功能项进入详情页面后,在原有设置基础上新增或更改相关参数完成数据调整工作;同时支持通过点击功能项进入详情页面后在原有设置基础上新增或更改相关参数完成数据调整工作;此外还可以通过点击功能项进入详情页面后在原有设置基础上新增或更改相关参数完成数据调整工作

图5-11家政服务管理界面图
健康信息管理系统中,在健康信息管理页面上提供了丰富的功能选项。用户可以通过该页面对用户名的设置、姓名的录入以及心率监测(心率)、体温监测(体温)、健康码查询(健康码)、身体健康状况记录(身体状况)、上报日期设置(上报日期)、审核回复查看(审核回复)、审核内容编辑(审核内容)与审核流程管理等功能进行详细信息查看(详情)、数据修改(修改)以及记录删除等功能(删除)。

图5-12健康信息管理界面图
该系统提供的'个人信息维护'功能模块允许用户完成账号信息的更新与维护。其中包含详细资料录入以及账号状态调整等功能项,在该检测信息管理界面可实现 usernames, names, ages, test results, 和 test dates 等相关信息的增删改查操作(如图5-13所示)。

图5-13检测信息管理界面图
在老人档案管理界面中,在老人档案管理页面内支持档案编号查询(Query)、用户名输入(Input)、姓名填写(Enter)、性别选择(Select)、年龄计算(Calculate)、联系人添加(Add Contact)等功能,并且能够实现详细查看(Detail)、信息修正(Modify)、彻底删除(Delete)等功能

图5-14老人档案管理界面图
在评论处理页面上提供互动功能,在线编辑系统允许管理员对用户数据进行实时更新与维护,并支持多种版本管理方式。

图5-15留言反馈界面图
