关于苹果AR/VR专利新闻的一次超详细探索!
首先,分享一张我在苹果总部展示大厅拍的一张照片,照片里:人们正在用iPad的AR功能实现2D的AR效果。

“苹果新专利新暗示:AR眼镜将与iphone配套使用!?”
而,如果是眼镜的话,第一张照片里的场景就能呈现3D的效果了!你能想象吗?
《刀剑神域》里的AR眼镜马上要成为现实了?

事情的起因是:我从各大新闻网站听说,2019年,苹果申请了一个关于VR增强现实的专利。作为一个狂热的科技爱好者,这无疑引起了我的极大兴趣。
所以,我抽丝剥茧、费尽心思收集了各种关于苹果VR/AR专利的信息。而本文也仅从专利的内容方面,来详细探讨其专利的具体内容表述以及对未来应用场景的构想。


其实,早在去年,苹果就发布了AR Kit2。苹果官网是这样写的:

“想象一下,如果虚拟和现实世界之间没有了界限,那将会怎样?
你可以坐在宇宙星辰之间听课。
你可以亲眼目睹历史长河中消逝的一幕幕。
即使是那些熟悉的事物,你也可以见识到它们前所未见的一面。
有了 iPhone 和 iPad,这样的体验将不仅仅是一种可能,而是真真切切的感受。增强现实以一种全新的方式利用了现有技术,让你的工作、学习、玩乐,以及与周围世界的联系,都将发生蜕变。而这一切仅仅只是开始。
一个全新的世界,正在欢迎你的到来。”

我相信这项技术改变的不仅仅是人们使用工具的方式,还有人们的社交习惯和生活方式。
而其实,微软的HoloLens很早就开始在进行AR的研究,但其昂贵的体验价格(据说达到3500刀),只能是TO B了,TO C的话,这个价格足以让人望而却步。
据我的猜测,苹果AR预计会在2021年上市,以轻便眼镜的形态出现,相信到时候价格也一定是不菲的。而且,其AR眼镜会和手机紧密协同,更多的完成三维显示以及传感器信息捕获回传等功能。
那么,我觉得吧,苹果的股票现在就值得开始购买了,到时候肯定有一波大的涨呢!(正经脸)

好了,接下来我们开始讨论专利内容:
我在很多新闻网站看到关于苹果专利的报道是这样的:
“这个有趣的专利是在2019年2月28日星期四发布的,我们可以查到其专利注册号 US 2019/0065027, 在专利中,苹果公司描述了人们使用耳机观看“增强现实环境”,在这种环境中,计算机图像覆盖在现实世界中。然后他们会使用“触摸敏感表面”作为一种与环境交互的方式。”
对,这绝对是翻译的,因为我看到了原文: Perhaps the most interesting aspect of the patent, which was published Thursday under patent number US 2019/0065027, is that Apple appears to be exploring ways of using an augmented reality headset alongside an iPhone. In the patent, Apple describes people using a headset to view “an augmented reality environment,” in which computer images are overlaid on the real world. And then they’d use a “touch-sensitive surface” as a way to interact with that environment.

然而,那些新闻报道并没有让我看到专利的具体内容,只是片面地说了一下未来有可能发生的事情。
带着大大的疑问,我专门滚去了美国专利局,并查询了这个所谓的“US2019/0065027“的专利号。对不起!完全没有这个专利号!!!我甚至还查了20190065027 0065027等等相关的信息,都查不到!!!所以更别提那个什么292页的说法了,好想看一下各大新闻媒体报导的这份专利到底是什么内容…?
(PS:如果有大神能从官网download下来分享正确的专利号,那真的是感激不尽+痛哭流涕!)
而且,美国专利号根本也不是什么US 2019/0065027这种类型的啊!这才是官方的写法:


以下是我在美国专利局官网查询到的:
——日期也不是2019年2月28日,是2019年2月26日。
别说我杠,我是觉得这种信息不应该瞎编!
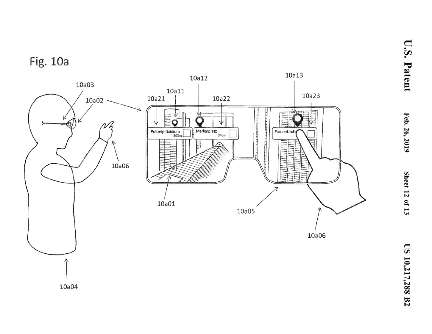
Patent #: US010217288
这个专利的内容是: 用于在移动设备上的真实环境的视图中表示兴趣点的方法及其移动设备。

这篇专利可以说是苹果公司近期在增强现实这一研究方面的重大突破了,不过有段时间可以用AR抢红包,其实那时我们就已经体验过类似的技术了。
该份专利文件中有这么一个图例:

过去我们的视图方式——平面式3D,虽然是3D显示,但是显示方式依旧是平面的。
而根据专利内容的图例,苹果公司是要做成以下的样子——


可想而知:未来,我们都可以像《刀剑神域》里面那样,架个小耳机就出门,然后约小伙伴们在公园打怪?而这个示意图就有这个可能性和趋势。
整个专利内容大概就是:苹果能够将平面设备上的3D显示场景通过其软硬件的搭配,呈现在立体世界里的3D画面。
Patent # US 10203489 B2
这是苹果公司在2月12日的另一份专利:关于头戴式设备的动作捕捉系统。

相信了解这个行业的人都知道,HMD是头戴式VR产品的缩写,例如HTC VIVE, Oculus等头戴式设备都称作为HMD。苹果的这项专利,居然在2019年2月12日申请下来,想必是要在HMD上做大功夫了。
其专利背景介绍:这通常涉及光学系统,更具体地说,涉及用于头戴式显示器的光学系统。
诸如虚拟现实眼镜之类的头戴式显示器使用镜头来为用户显示图像。微显示器可以为每个用户的眼睛创建图像。可以将镜头放置在每个用户的眼睛和微显示器的一部分之间,使得用户可以观看虚拟现实内容。
不过,头戴式显示器有时可能会很麻烦,并且穿着会很累。因为用于头戴式显示器的光学系统使用的是体积大且重的透镜布置,而如果长期使用这种类型的光学系统的头戴式显示器,可能是不舒服的。
因此,真心希望苹果公司未来能够提供改进的头戴式装置。
所以,其实我们并不需要通过各种小道消息来预测苹果公司接下来要干什么。因为我可以很肯定地说:他们是要做增强现实的产品的。而这还只是铺垫前奏,从专利文件来看:其研究光学动捕的细节程度,居然已经细化到了镜片的呈现——咱们来看专利内容的示意图:

即将跟大家分享苹果公司近期的第三份专利:
Patent #:US 10217290

这篇同步于2019年2月26日的专利,是实际的移动设备的位置和环境模型之间的响应(注册),说实话我也不知道正确的翻译应当是什么,然而我却认为我是看懂了的。
来,一起看看此份专利内容的原理图:

这份原理图注释是:根据本发明的实施例的计算机系统的框图。
我翻译了一下:

专利背景实在是太长了,原谅我用谷歌翻译跟你们分享,不过我相信是个中国人都能看懂这种翻译了——
本公开一般涉及用户界面,并且具体地涉及使用户能够使用由该模型表示的真实世界环境来校准三维模型的位置的用户界面。
正在为移动设备开发一些应用程序,其允许用户查看其真实物理环境的“增强现实”或“增强现实”视图。一些移动设备,包括手机和所谓的智能手机,配备了摄像头和图形显示屏。摄像机可以安装在设备的与设备显示器所在侧面相对的一侧。增强现实应用程序通常实时捕获当前在相机视图内的内容并在显示器上呈现这些内容。因此,移动设备的用户可以在他的视野之前保持移动设备,以便将设备的图形显示器用作一种相机取景器。设备的显示屏向用户显示相机可以看到的所有内容。然而,增强现实应用程序比简单地向设备的用户呈现现实世界的视图更进一步。增强型现实应用程序试图通过世界的实时视频来注册世界的预测模型。增强现实应用程序通常能够将真实世界视图与该视图中包含的人员和对象的信息叠加在一起。例如,增强现实应用程序可能会覆盖视图中的特定建筑物,其中包含建筑物所在办公室的名称。对于另一示例,增强现实应用可以用其名称覆盖视图内的特定街道。再举一个例子,更复杂的应用程序甚至可能试图在虚拟文本气泡中呈现视图中的人名,这些气泡漂浮在那些人的脸上。
为了以精确的方式在真实世界视图内覆盖特定对象上的信息,增强现实应用必须具有某种方式来确定视图内的许多像素中的哪一个对应于该特定对象。真实世界视图可能包含与各种不同位置中的许多不同对象相对应的各种像素。如果重叠的信息被放置在视图内的错误位置内,则增强现实应用的用户可能变得混淆或误导。因此,增强现实应用可以指现实世界的虚拟模型。对于每个已知的现实世界对象,该虚拟模型可以包括一组三维坐标,其表示定义该对象的表面的轮廓的点。例如,建筑物的坐标集可能至少包括建筑物角落处的点的坐标。如果对应于特定对象的坐标与线连接,则可以产生该特定对象的线框模型。
除非这些坐标是准确的,否则拥有特定对象的坐标集或其线框模型几乎没有帮助。对于各种现实世界对象,对象模型数据库可以包括在全球定位系统(GPS)使用的坐标系内意味着有意义的坐标。当增强型房地产应用程序的用户在特定地点使用他的应用程序时,该应用程序执行的设备可以利用其传感器 - 通常包括指南针,陀螺仪和GPS - 来估计设备的姿态和位移参考到给定的帧,以及设备所在的GPS坐标。应用程序可以使用由传感器自动获得的估计位置,姿态和位移信息,以便尝试将用户准确地放置在虚拟模型中。如果用户的位置和方向被精确估计,并且如果要描绘的模型是完美的,则用户附近的对象的线框模型可以与对应于设备视图内的对象的像素精确对准。在这种情况下,增强的信息可以精确地覆盖在增强现实视图内的正确位置。不幸的是,由于GPS是基于卫星的技术,其位置估计不是细粒度的,并且通常只能以相对粗糙的粒度获得,因此用户在线框模型中的实际坐标可能会显着偏离坐标估计使用移动设备的GPS。此外,线框模型与设备视图内的像素之间的对准不准确可能是由于罗盘,陀螺仪和倾斜测量中的不准确而导致的方向,姿态和位移误差。因此,即使是用户的最佳自动确定的坐标和方向估计也可以导致增强的真实。
以上,他们要做动捕!!!苹果公司的专利不仅是光学+硬件,通过专利还可以看出来他们要做动捕。
好吧,虽然内心里我是支持国产的,但是科技进步需要全世界人民的努力嘛,让我也期待一下苹果VR的诞生吧。

以下内容来自于网上各大新闻转载的新闻:

在一些实施例中,计算机系统包括个人电子设备,例如专利图1中所述的耳机。在上面的图5A2中,用户正在观看增强现实环境并且能够利用触敏遥控器,棒!在耳机上找到的触敏表面等与环境交互。下图显示了用户将iPhone作为导航工具进行触摸。

如果需要,用户能够添加虚拟人,汽车,树木,灌木等,并逐层解剖建筑物。你可以看到建筑师在整理提案时喜欢这个,并希望投资者能够看到整体环境,建筑等等。
苹果公司在其年度iPhone或iPad活动中展示了使用AR可以享受下一代互动游戏。 苹果公司还为开发人员提供了Swift Shot游戏,如下图所示,许多专利及其数据都深入研究了这些游戏和互动功能。

在未来,苹果公司设想具有混合现实耳机的用户能够使用应用程序进行图像编辑,绘图,演示,文字处理,电子表格制作,电话,视频会议,电子邮件,即时消息,锻炼支持,数字摄影,数字视频,网页浏览,数字音乐播放,笔记记录和/或数字视频播放。
好吧,你们自行参考吧!
接下来我要结尾了!!!

就像苹果公司官方网站宣传的——
换种新方式,
认识新世界。
亲身体验是最有效的学习方法之一。有了增强现实,许多原本只能靠想象的事物,现在你都能亲身感受了。比如,你根本不用动扳手,就能先看清汽车发动机的复杂结构;一个刀口都不用开,就能分析人体的细小骨骼。学习的可能性,真的无穷无尽。
那么,苹果的AR/VR世界,你期待吗?
