先学STM8,还是学STM32?
有朋友问:我学习过51,接下来我是先学习STM8,还是STM32呢?
01
写在前面
想要明白这个问题,其实就需要明白STM8和STM32之间有些什么差异,包括MCU基本信息、开发难度、以及应用场景等。
站在客观的角度来说,STM8比STM32学起来更容易,C语言功底还不错的朋友,直接上STM32也不是问题。
从大的方向来说,当你对一种MCU掌握的比较透彻,再学其他型号、其他厂商的MCU,相对来说,上手都要容易的多。
针对本文问题,我下面讲述一下相关知识。
02
STM8和STM32内核差异
STM8™ CPU 是一种专有架构,它保持了以前的 ST7 内核的传统,同时在 8 位 CPU 效率和代码密度方面实现了突破。
STM32 围绕行业标准 ARM® Cortex™-M 32 位内核构建,并受益于与 ARM 处理器有关的开发工具和软件解决方案的完整生态产业环境。
尽管它们被认为是两种完全不同的处理器,但它们在架构方面实际有许多相似之处。
下面对比STM8S 和 STM32F1 (Cortex-M3)这两种内核差异:

两种内核均基于哈佛架构,它们采用 3 级流水线执行,可将执行时间降至最低,对于 STM8S,时钟速度高达 24 MHz,对于 STM32F1系列,时钟速度高达 72 MHz。
在代码密度方面,它们均有优异的表现,这归功于 STM8S 系列的 8 位 CISC 指令集以及 STM32F1系列的 Cortex 内核引入的 16 位 Thumb-2 模式。
03
片上外设差异
ST 8位和 32位 MCU 产品线之间的片上外设具有一致性,大多数基本 MCU 外设均定义和构建为可从一个产品系列移植到另一个产品系列。
这通过将 8 位外设简单但有效地修改为 32 位字来实现。这样做的好处是可节约成本和功耗,并且资源易于了解。
如果需要更高性能,可在系统层面通过更宽的总线和 DMA 控制器对资源加以补充。在了解了外设的工作原理后,可以将外设应用到 STM8S 和 STM32 系列,从而加速两种器件之间的转换。
ARM 处理器和外设符合 AMBA 总线规范,采用 32 位数据总线,而 STM8S 器件使用更为简单但有效的 8 位总线标准。从功能角度看,它们仅在以下方面存在差异:
寄存器大小: 8 位与 16 或 32 位
直接取决于 CPU 运行速度的最大时钟频率
DMA,可通过简单数据管理减轻 CPU 的负荷并提高最大数据吞吐量
一些产品特定功能,如 I/O 端口管理
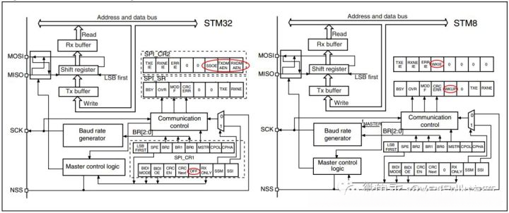
对比STM8S 和 STM32F1 的 SPI 框图:

SPI寄存器:

从上面框图和寄存器可以看出:除了几个有区别的位和寄存器大小外,寄存器和位的名称以及在寄存器中的位置都是相似的。
04
系统外设
当今的 MCU 是复杂的 SoC(片上系统),其中不仅包含许多外设,还包含一些高级系统特性,旨在缩减物料清单或增强系统的安全性和稳定性。
1.复位
STM8S 和 STM32 基本具有相同的复位电路,仅有细微的差异:

NRST 引脚既是输入也是具有内置上拉电阻的开漏输出。为实现 EMS(电磁敏感度)鲁棒性,插入了一个滤波器以避免毛刺传播到数字电路中。双向复位有三个优点:
对于多 MCU 系统,双向复位可确保在启动或热复位时所有子处理器均正确同步
对于其它 IC,在系统层面还可以使用 MCU 内嵌的电压监控器(上电复位和欠压复位)
当生成假内部复位时,在调试过程中会有很大帮助
2.时钟
STM8和STM32时钟都具有很强大的功能,特别是最近推出的STM32G0具有高精度内部时钟,可以省去外部晶振,减少硬件及PCB。
STM8不具备倍频功能,各方面相对要弱一点。STM32具有倍频、外设时钟分频等强大功能。同时,STM8和32都具有独立外设时钟使能功能,以降低功耗。
看下STM32F1时钟树,就大概了解有哪些功能了:

3.存储器
两种产品线均基于非易失性存储器并具有一个选项字节加载器。此机制取代了用于 MCU 上电配置的传统熔丝位:用户可以在编程时选择多种选项,这些选项会随程序二进制映像一起写入。
所有新型微控制器都具有以下几个特性:
暂停、停止或待机模式下的复位:可在 MCU 意外进入低功耗模式时避免发生死锁情况,适用于不能处理此类配置的应用
硬件/软件看门狗,可以在复位之后立即通过硬件启动看门狗
存储器读保护,用于防止对程序内容的窃取
存储器写保护,用于保护存储器中包含关键代码的部分。通常,这适用于自举代码或IAP(应用内编程)驱动程序
这些选项可自动使能安全性和可靠性特性,这样即使在 CPU 获取第一个指令之前出现干扰或攻击,应用也可以恢复。
STM8S 和 STM32 器件具有嵌入式自举加载器,通过它可以使用板上串行接口(例如 UART)重新烧写内部 Flash。随后可以将任何具有串行通讯接口的 PC 用作编程工具,来烧写或更新 Flash 以及数据 EEPROM 存储器的内容。 ST 提供了一个软件实用程序来执行自举加载器支持的所有操作。
当然,还有更多系统特性相关的内容,比如安全性、低功耗方面。这些设计都具有高度一致性。
05
软件
STM8和STM32除了上面描述的一些内容具有高度一致性之外,其实,对应我们软件开发工程师来说,软件才是最为关心的一点。
在STM8和STM32产品设计之初,工程师早就考虑过这个问题。因为二者系统、内核及外设都具有一致性,所以软件库也是设计具有一致性。
1.寄存器、库开发
这个我就不说了,从51过来的都知道,对于寄存器比较少的MCU来说,不是问题。对于STM8来说,其实我觉得还好,使用寄存器开发,就是需要更多时间了解寄存器。
我其实不是很建议大家使用寄存器开发,现在STM8有标准外设库,库的API函数接口也容易理解,直接拿来省事,也能方便理解寄存器。
那么对于STM32这种有大量寄存器的MCU,我同样也是不建议大家直接使用寄存器开发,部分功能可以针对库优化成寄存器。
2.STM8、32CubeMX工具
STM8CubeMX和STM32CubeMX这两个工具我不止一次在公众号提到,ST官方的目前的趋势就是希望用户使用这个工具来开发。
而且,大家已经发现,STM32有些新出来的MCU是没有标准外设库了。所以,这两个工具建议大家也要学习。
STM8CubeMX目前更新至V1.3.0,只能提供配置,方便了解MCU使用资源情况,还不具备自动生成代码功能,不过我觉得后面应该具有这个功能。

所以:如果基础不怎么好,建议先STM8,等学到一定基础可以再学STM32。如果自认基础还可以,C语言也行,那么直接上STM32不成问题。
欢迎一起交流 737448768

