(附源码)计算机毕业设计SSM幼儿园管理系统
项目运行
环境配置:
JDK 1.8 + Tomcat 7.0 + MySQL + HeapSmart HBuilder X(同样适用其他开发工具如 WebStorm)+ Eclipse(包括 IntelliJ IDEA、Eclipse、MyEclipse 以及 Sts 等都支持)。
项目技术:
SSM + mybatis + Maven + Vue 等等组成,B/S模式 + Maven管理等等。
环境需要
运行环境:推荐使用Java JDK 1.8,在该平台上进行运行。其他版本理论上也是兼容的。
2.IDE环境:IDEA,Eclipse,Myeclipse都可以。推荐IDEA;
3.tomcat环境:Tomcat 7.x,8.x,9.x版本均可
4.硬件环境:windows 7/8/10 1G内存以上;或者 Mac OS;
5.是否是Maven项目: 否;检查源码目录中是否存在pom.xml文件;如果存在,则被认为是Maven项目;否则,则被视为非Maven项目。
6.数据库:MySql 5.7/8.0等版本均可;
毕设帮助,指导,本源码分享,调试部署(见文末)
3.1 可行性分析
幼儿园管理系统的核心任务是承担幼儿园相关的信息管理职能。在明确了目标之后,我们计划从以下几个方面展开可行性评估。
3.1.1 技术可行性
幼儿园管理系统主要基于Java开发平台,并遵循B/S架构模式,在MySQL数据库的支持下设计而成。该系统对于应用程序的开发要求必须具备完整的功能模块,并且具有操作简便的特点;确保系统运行的数据完整性和安全性得到严格保障。从技术可行性角度来看,该系统的可开发性特征较高;同时由于具备了一定的编程技能基础而使系统的实际应用方案得以顺利实施;因此该系统的开发方案是可行的。
3.1.2操作可行性
幼儿园管理系统的登录界面设计简洁直观,在使用时可完成账号的快速登录与切换。该界面主要采用通用的用户界面组件构建 login 窗口,在使用电脑时可完成账号的快速切换与绑定管理功能。为了实现高效的账号管理与服务交互功能, 本系统选用 Java 语言作为核心开发平台, 并基于 B/S 结构设计了相应的服务架构体系, 这样的软件架构设计大大提升了系统的功能完整性。从用户体验角度来看, 该系统具备简便的操作流程和良好的互动体验, 整个操作流程较为直观且易于掌握, 只要熟悉基本计算机操作的人群均可轻松上手完成各项功能模块的操作, 因此本系统具备较高的推广价值与应用前景
3.1.3 经济可行性
基于B/S架构设计的幼儿园管理系统采用MySQL数据库进行数据存储,并结合市场上配置较为简单的硬件与软件环境实现功能需求。系统主要包含功能模块的设计与实现,并注重日常维护工作以确保正常运行状态。因此,在人力与财力方面的要求相对较低,并且由于其架构设计合理且操作简便而具有较高的经济可行性
3.1.4 法律可行性
该幼儿园管理平台由本团队独立开发,在实际应用中具有重要的参考价值。由于系统主要采用开源代码库构建架构,在软件及数据库层面均遵循开放社区的发展理念。基于上述架构设计,在法律框架内确保无侵权风险。
综合以上分析可知,在技术应用方面具备高度的技术可行性;从经济成本角度来看也具有较高的可行性;同时该系统的操作简便性也得到了充分验证;并且它完全符合相关法律法规的要求。
3.2系统流程分析
3.2.1系统开发流程
在幼儿园管理系统的开发过程中,在线性时间内,在这个阶段内,在这一时间段内

图3-1系统开发流程图
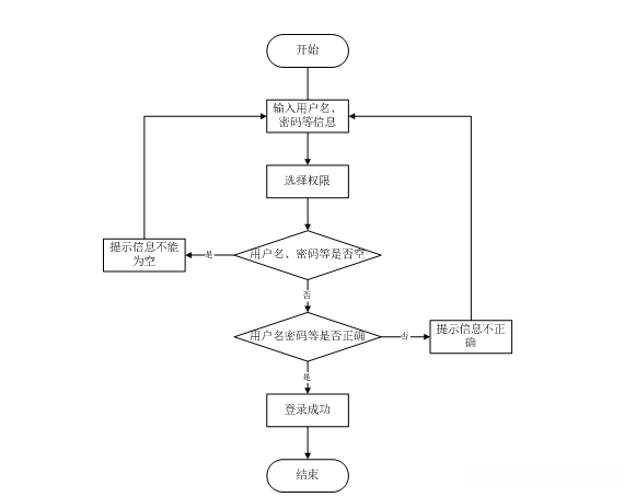
3.2.2 用户登录流程
为确保系统的安全性,请在进入该系统之前必须先登录并采取措施对系统的相关信息实施管理。如图3-2所示。

图3-2 登录流程图
3.2.3 系统操作流程
转入系统时,通常首先呈现的是登录界面,随后要求用户正确输入用户名与密码,此时,系统将自动对这些信息进行验证;当上述信息无误时,将引导用户进入到系统的功能界面,并开展相关操作;如果上述验证失败,则会相应提示用户"无法成功登录";具体的操作流程可参考附图中的相关内容

图3-3 系统操作流程图
3.2.4 添加信息流程
管理员作为主要操作者,在系统中负责管理各类数据的录入工作。除了管理员外还包括了教师以及儿童在内的所有用户,在其权限范围内均可完成数据的新增操作。当用户在在线系统中完成数据提交后,在线系统会对所提交的内容及其准确性进行自动核对。如果上述提交的信息经核实无误,则该数据会被成功存入数据库中;如果发现存在任何错误或不完整之处,则系统将引导用户重新补充并完善相关信息。以上流程已详细展示于附图3-4中。

图3-4 添加信息流程图
3.2.5 修改信息流程
管理员可对信息类内容进行相应的调整,教师及学生同样可对自己权限范围内的数据进行相应的调整,首先进入'编辑信息'界面,录入相关数据字段,系统将录入的数据经判断与验证后确认无误,若确认无误,则完成操作并保存至数据库中;如果发现非法,则返回错误提示并要求重新输入.该流程图如图3-5所示.

图3-5 修改信息流程图
3.2.6 删除信息流程
管理员可通过选择特定项目并执行删减操作来处理数据。在确认需要删减前,请先选择目标数据。单击‘删除’按钮以执行操作。系统将弹出确认对话框,请您核实是否继续;一旦您确认操作,请系统将立即执行该删减过程;随后,在数据库中完成相应的记录清除工作。有关该删减过程的具体流程图可参考图3-6

图3-6 删除信息流程图
3.3系统用例分析
3.3.1管理员用例图
主要角色被赋予了登录权限,并负责通过其专属菜单进行后台系统的操作。该系统的日常维护与监控工作由技术团队负责执行。主要功能包括首页、个人中心、儿童作品管理和儿童中心等模块;此外还有教师管理和课程安排等功能可供调用。

图3-7 管理员用例图
3.3.2教师用例图
教师可以通过系统登录首页;通过系统登录个人档案;通过系统完成作品档案管理和学生信息管理;通过系统完成健康监测数据管理等。参考图示中的操作流程(如图3-8)。例如图中的操作流程

图3-8教师用例图
3.3.3儿童用例图
在系统中可以完成首页浏览、个人页面访问、体温监测管理和个人收藏模块的使用等操作。例如图3-9所示。

图3-9儿童用例图
4 系统设计
4.1 系统概述
在进行了系统的分析之后
系统级设计只是其中一种阶段性的规划方案。此外,在项目实施过程中, 我们应制定多套系统的总体设计方案, 并通过全面比较分析, 包括性能优化、成本控制以及效益提升等多维度的对比评估, 最终确定一套最优的整体设计方案。选择一套优秀的系统级设计方案能够有效降低开发成本, 提升经济效益, 从这个角度来看, 系统级设计的重要性不言而喻。
幼儿园管理系统工作原理图如图4-1所示:

图4-1 系统工作原理图
4.2 系统结构设计
在系统设计阶段中存在系统架构图这一概念,在此过程中它仅是该阶段的产物之一。其整体架构直接决定了整个系统的运行模式,并且作为基础性需求而存在。其中幼儿园管理系统采用模块化结构进行整体规划,并通过相应的图表进行展示(如图4-2所示)。

图4-2 系统结构图
4.3数据库设计
数据库是计算机信息系统的核心数据存储系统。当前的电脑系统的关键与核心部分主要由数据库支撑。开发质量高低将直接影响整个系统的性能和效率水平
4.3.1 数据库设计原则
数据库的概念结构设计主要采用实体-联系(E-R)模型法。基于E-R模型法的基本组成要素包括实体、属性和联系。通过E-R图的形式来表示这些要素之间的关系,在系统设计过程中,数据库的作用具有决定性。本节将详细阐述这些关键实体对应的实体-关系图示。
4.3.2 数据库实体
数据模型中的对象(Object),也被称为实例化对象(instance object),对应于现实世界中能够被区分类别化的特定事件或物质存在体。例如,在企业内部的每位员工都属于一个独立的对象实例;而家庭内的各种家具则构成了不同的对象集合。
本系统的E-R图如下图所示:
1、儿童作品管理实体图如图4-3所示:

图4-3儿童作品管理实体图
2、儿童信息实体图如图4-4所示:

图4-4儿童信息实体图
5.1系统功能模块
幼儿园管理系统是一个在线服务系统,在其首界面展示了多个功能模块包括首页浏览页面儿童作品展示区教师页面以及后台管理人员后台等详细信息如图5-1所示

图5-1系统首页界面图
在儿童作品页面访问时可以浏览标题等信息,并保存至个人中心。

图5-2儿童作品界面图
教师,在教师页面上能够查询到教师姓名、教师工号、性别以及相关图片信息,并在图5-3中展示出相应的详细资料包括职称信息以及联系方式等

图5-3教师界面图
在菜品信息页面上展示有菜品名称、标题、类别、图片资料以及下单时间记录等详细内容。顾客在此平台内可浏览并了解每道菜品的具体详情,并可在此对感兴趣的菜品进行评价和收藏操作。

图5-4菜品信息界面图
在个人中心页面位于个人中心区域中 通过录入孩子姓名 密码 班级信息 性别 年龄 身高和体重等数据 来完成个人信息更新操作 如图5-5所示

图5-5个人中心界面图
5.2管理员功能模块
管理员登录,通过填写注册时输入的用户名、密码、角色进行登录,如图5-6所示。

图5-6管理员登录界面图
幼儿园管理人员登录系统后具有权限查看主页、个人中心以及多个功能模块的信息包:包括但不限于儿童作品展示区、教师活动记录区以及食堂 menu 管理模块等;具体功能区域如图5-7所示

图5-7管理员功能界面图
在儿童作品管理页面中浏览索引列表项,在线查看完整的作品信息及其相关属性:作品编号(标题名称)、封面图片路径以及发布日期等详细资料;同时支持根据个人需求对内容进行修改或删除操作(如图5-8所示)。

图5-8儿童作品管理界面图
在该页面中提供全面的儿童管理系统功能模块,在线查询记录信息包括但不限于:学号作为唯一标识符的基本信息资料;学生成绩单详细数据;登录凭证完整记录;所属班级及学生基本信息;个人身份特征数据等基础属性字段值。操作人员根据实际需求可执行修改或删除步骤。

图5-9儿童管理界面图
在教师管理页面中可以看到多个核心信息项:包括职工编号标识符(身份证码)、职工姓名(职工姓名)、性别(性别信息)、称职情况(职称)、通讯号码(联系电话)、邮箱地址(教师邮箱)、班级信息(班级)以及人员照片(头像)等内容;根据实际需求可以选择性地对相关信息进行调整或删除相关设置

图5-10教师管理界面图
菜品信息管理,在菜品信息管理页面中可以浏览系统提供的基础信息包括菜品索引、标题等详细资料以及配图等多媒体资源,并根据实际需求选择性地查阅顾客评价,并通过增删操作对已有数据进行维护更新(如图5-11所示)。

图5-11菜品信息管理界面图
