微机原理与接口技术知识点整理复习--纯手打
发布时间
阅读量:
阅读量
微型计算机摘要
微处理器分类
- 4位、8位、16位、32位微处理器,分别处理不同字长的数据。
寻址方式- 直接寻址:使用寄存器或地址寄存器。
- 间接寻址:通过指针寄存器间接获取地址。
- 基址+变址寻址:结合基址和变址寄存器进行寻址。
总线结构- 总线周期:4个时钟周期,用于数据传输。
- 总线类型:包括系统总线、外部总线、局部总线等。
存储器类型- 物理地址:由段地址和逻辑地址组成。
- 存储器映像:分为I/O端口独立编址和总线收发器。
寻址方法- 符号意义:如零标志、奇偶标志等。
- 控制信息:状态寄存器、方向寄存器等。
数据传输方式- 程序方式:条件和无条件传送。
- 中断方式:中断请求和处理。
- DMA方式:总线控制器控制数据传输。
串行通信方式- 同步方式:使用同步字符和异步方式(包括起始位、停止位、奇偶校验)。
总线控制器- 8251A:同步和异步模式,支持同步方式和异步方式。
- 8259A:支持全嵌套、特殊嵌套、优先级自动循环等模式。
接口功能- 使CPU正常工作:辅助电路、输入/输出接口、数据传输方式。
总线类型- 内部总线:CPU与内部设备的连接。
- 外部总线:微型计算机与外设的通信。
总线性能指标- 宽度:一次传输的数据位数。
- 总线频率:每秒传输的数据次数。
- 传输率:每秒传输的字节数。
摘要涵盖了微型计算机课程的核心知识点,包括微处理器、存储器、总线、数据传输方式、串行通信、总线控制器等内容,适合快速复习和理解微型计算机的基础知识。

关注公众号,回复“微机必考”,免费获取文件版资源,方便打印,方便随时阅读。
明天就要考试了,来一波知识点整理。都会了,期末考试你不过你来找我!
第一章
1.按微处理器的字节分类
4 位微处理器
8 位微处理器
16位微处理器
32位微处理器
2.这个必须背,不是简答就是简答,肯定出简答

3.系统软件
给一个实例判断是否是系统软件!
常见的系统软件:
操作系统、程序语言设计、语言处理程序、数据库管理程序、系统辅助处理程序
第二章
微处理器的性能参数
a.字长 CPU能同时处理的数据位数
b.主频 CPU的时钟频率,主频越高,运算速度越快
2.8086的编程结构(掌握)这个必须背,简答题必出
从功能上8086分为两部分,总线接口部分(BIU) 和 执行部件(EU)
a. 总线接口部件
a) 4个16位的段地址寄存器
i. CS 代码段地址寄存器
ii. DS 数据段地址寄存器
iii. ES 附加段地址寄存器
iv. SS 堆栈段地址寄存器
b) 16位的指令指针寄存器 IP
c) 20位的地址加法器
d) 6字节的指令队列缓冲器
b. 执行部件
a) 4个通用寄存器 AX、BX、CX、DX
b) 4个专用寄存器
i. 基数指针寄存器 BP
ii. 堆栈指针寄存器 SP
iii. 源变址寄存器 SI
iv. 目的变址寄存器 DI
c) 标志寄存器 FR
d) 算数逻辑部件ALU (算术运算和逻辑运算)
3.8086的标志寄存器共16位,7位未用,,,知道什么时候表示什么意义即可
a. 状态标识6个
a) 符号标志 SF
b) 零标志 ZF
c) 奇偶标志 PF
d) 进位标志 CF
e) 辅助进位标志 AF
f) 溢出标志 OF
b. 控制标志3个
a) 方向标志 DF
b) 中断允许标志 IF
c) 跟踪标志 TF
有符号有意义:ZF SF PF OF
无符号有意义:PF ZF CF AF
4.8086的总线周期–填空啦选择啦
由4个时钟周期组成,时钟周期是CPU最基本的时间计量单位
4个时钟周期称为4个状态:T1、T2、T3、T4
Tw放在T3和T4之间
5.8086最小配置典型参数(掌握具体参数、型号、功能特点)(掌握)对于这类问题,背诵是必胜的关键,因为简答题往往围绕"最大或最小"展开。
a.有1片8284A,作为时钟发生器,提供时钟信号和同步ready信号和reset信号
b.有3片8282或74LS273,用来作为地址锁存器,暂存地址
c.有2片8286/8287,作为总线收发器,增加数据总线的驱动能力
d.有1片8086,作为微处理器,负责CPU对存储器和IO端口的数据传输以及指令的执行
6.8086的最大模式典型配置(掌握)要求同最小模式
a. 有两个或多个8086,作为微处理器,功能同最小模式
b. 有1片8284A,作为时钟发生器,功能同最小模式
c. 有3片8282或74Ls273,用来做地址锁存器,功能同最小模式
d. 有2片8286/8287,作为总线收发器,功能同最小模式
e. 有1片8288,作为总线控制器,控制总线是否让出
f. 有1片8259A,作为中断控制器,控制是否处理中断
7.中断–填空啦选择啦
a. 中断分类:
a) 硬件中断/外部中断
i. 非屏蔽中断 – 引脚NMI
ii. 可屏蔽中断 – 引脚INIR
b) 软件中断/内部中断
b. 中断向量和中断向量表
a) 中断向量表中最多容纳256个中断向量
b) 一个中断向量占4个存储单元
c) 查向量表时,中断类型号*4为起始地址,连续4个存储单元
8.中断响应过程 填空选择
INAT引脚两次有效,第一次有效为中断请求信号,第二次有效为发送中断类型号
9.存储器 主要填空题,掌握编址方法
a. 物理地址 = 段地址 * 16 + 逻辑地址
b. I/O编址的两种方法:
a) 存储器映像
b) I/O端口独立编址
第三章
Pentium的寻址方式(熟练掌握)一定需要填空,当你被问及什么方式时,只需看清题目描述,无需多虑。
a. 立即数寻址
a) 立即数只能作为源操作数,不能作为目的操作数
b. 寄存器寻址
c. 输入/输出端口寻址
a) I/O直接寻址
b) I/O间接寻址
d. 存储器寻址
有效地址EA = 基址 + 变址 * 比例因子 + 位移量
a) 直接寻址 MOV AX , [1070H]
b) 寄存器间接寻址 MOV AX , [BX]
c) 寄存器相对寻址 MOV AX , [SI + 100]
d) 基址加变址的寻址 MOV AX , [BX + SI]
e) 相对的基址加变址寻址 MOV AX , [BP + SI + 100]
f) 相对的带比例因子的变址寻址 IMUL EBX , [ESI * 4 + 7]
g) 基址加比例因子的变址寻址 MOV EAX , [EBX][ESI * 4]
h) 相对的基址加比例因子的变址寻址 MOV EAX , [EDI * 4][EBP + 80]
2.指令的注意事项 MOV—判断题一定出
a) 不能在两个内存单元之间传送数据
b) 不能从一个段地址寄存器向另一个段地址寄存器发送数据
c) CS、IP、EIP寄存器不能作为目的操作数
第四章
1.随机存取存储器RAM
a. SRAM
a) 触发器构成
b. DRAM
a) 电容构成
2.只读存储器 ROM—可能会出简答题吧
a. 掩膜型ROM
b. 可编程只读存储器PROM
c. 可擦除、可编程只读存储器EPROM
d. 可用电擦除的可编程只读存储器E2PROM
e. 闪烁存储器
3.存储器片选信号的产生方法,,简单题常客,优点缺点,原理特点
a. 线选法
a) 电路简单
b) 直接用地址线做为片选信号,每条地址选一个芯片
c) 用于容量小、存储芯片也少的小系统中
d) 整个存储器的地址不连续,空间浪费大
e) 同一单元可对应不同的地址
b. 全译码法
a) 存储单元是唯一的,不会出现地址重叠
b) 只要选择的好,可以保证地址的连续
c) 电路复杂
c. 部分译码法
a) 简化译码电路,容易实现
b) 会有地址重叠的问题,浪费空间
c) 如果组织的好,也可以保证地址的连续性
d. 混合译码法
a) 因为包括了线选法,所以也有地址不连续和地址重叠的问题
4.存储器的容量扩充方法----填空题
a. 数据宽度的扩充
b. 字节的扩充
5.内存按照字访问—判断啦选择啦填空啦
a. 对准状态
a) 要求起始地址为偶数地址
b. 非对准状态
a) 由于提供的对字访问的地址为奇地址造成的
6.Cache的组织方式 (特点、大体原理) (掌握)–简答题一般会出
a. 全相联方式
a) 主存的一个区块可能映像到Cache的任何一个地方
b. 直接映像方式
a) 主存的一个区块只能映像到Cache的一个对应的地方
c. 组相连方式
a) 将Cache分为均等容量的几路,每一路包含许多组,各路中,组的数量和编号相同,每一组又包含1个或多个区块。
b) 主存的一个区块只能映像到Cache的指定组号和指定块号的区块,但可以映像到不同路中的相应区块
第五章
1.接口按照功能分类
a. 使CPU正常工作所需要的辅助电路
b. 输入/输出接口
2.CPU和输入/输出设备之间的信号–记住它,填空选择一定有啊
a. 数据信息
b. 状态信息
c. 控制信息
3.I/O端口
定义:CPU和外设进行数据传输时,各类信息在接口中进入不同的寄存器
编址方式:与存储器统一编址方式和I/O端口独立编址方式
4.CPU和外设之间的数据传送方式 (原理 、 特点) (掌握)一定考,有点迷,没整理好
a. 程序方式
a) 条件传送方式
b) 无条件传送方式
b. 中断方式
c. DMA方式
a) 特点
i. 是一个接口电路
ii. 能够控制系统总线
iii. 操纵外设和存储器之间的数据传输
第六章
1.串行通信的方式
a. 根据方向划分
a) 半双工方式
b) 单工方式
c) 全双工方式
b. 根据数据格式划分
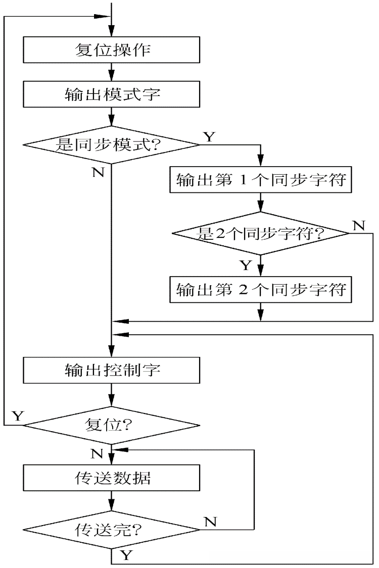
a) 同步方式 (同步字符 最多两个) 通信双方要求同一个时钟信号
b) 异步方式 (一个起始位,停止位(1 , 1.5 , 2),奇偶校验位)
2.可编程串行通信接口8251A基本性能
a. 同步方式
a) 可用5、6、7和8位来代表字符
b) 能够自动检测同步字符,从而实现同步
c) 允许同步方式下增加奇偶校验位进行校验
b. 异步方式
a) 也可用5、6、7和8位来代表字符
b) 用1位做奇偶校验位
c) 在异步方式下自动为每个数据增加一个启动位,并根据编程为每个数据增加1个、1.5个或2个停止位
3.8251A的初始化(掌握)好好看看

4.8251A在异步模式下模式寄存器中的关系,,,填空题啦
时钟频率 = 波特率因子 * 波特率
8251 内部地址 c/d
TxD 数据发送
RxD 数据接收
5.可编程并行通信接口8255A,一定考,相信我,100%编程题
a. 内部结构
a) 3个8位数据端口: 端口A、 端口B、 端口C
b) 端口C通过控制命令被分为两个4位端口,分别用来给端口A和端口B提供控制信号和状态信号
b. 控制字
a) 方式选择控制字
b) 端口你C置1 / 置0控制字
c. 工作方式
a) 方式0、方式1、方式2
b) 端口A可工作在三种方式中的任意一种
c) 端口B只能工作在方式0或方式1
d) 端口C配合端口A和端口B工作
e) 只有端口A工作在方式2
d. 应用实例(掌握) (掌握) (掌握)
a) 作为连接打印机的接口 课本233页
b) 传输数据
第七章
1.8259A的编程结构(掌握)
a. 控制部分
a) 4个8位寄存器,存放初始化命令字ICW1-ICW4
b) 3个8位寄存器,存放操作命令字OCW1-OCW3
b. 处理部件
a) 中断请求寄存器IRR (保存8个中断信息)
b) 中断优先级裁决器PR (比较优先级大小)
c) 当前中断服务寄存器ISR (记录)
2.8259A的工作方式,设置优先级的方式(特点、原理) (掌握) (掌握)简答题啊
a. 全嵌套方式
a) 最常用的工作方式,中断请求按照优先级0~7进行处理,0级最高,7级最低
b) 中断优先级裁决器将收到的中断请求与当前中断服务寄存器的IS位比较,判断新收到的是否比当前的正在处理的中断的优先级高,如是,则进行中断嵌套
b. 特殊嵌套方式
a) 与全嵌套方式相比,只有一点差别,当处理某一级中断时,如果有同级中断请求,也会给予响应
c. 优先级自动循环方式
a) 一般用在系统中的多个中断源优先级相等的场合。
b) 在这种方式下,优先级队列是变化的,一个设备受到中断服务以后,它的优先级自动降为最低
d. 优先级特殊循环方式
a) 与优先级自动循环相比,只有一点不同,就是一开始的最低优先级和最高优先级是由编程确定的。
3.几个8259A级联可以控制几个中断–填空题的常客
1个控制 8 个中断
2个控制 8 – 1 + 8 = 15
3个控制 8 – 2 + 8 * 2 = 22
4个控制 8 – 3 + 8 * 3 = 29
X个控制 8 – x + 8 * (x - 1) = ? x <= 8
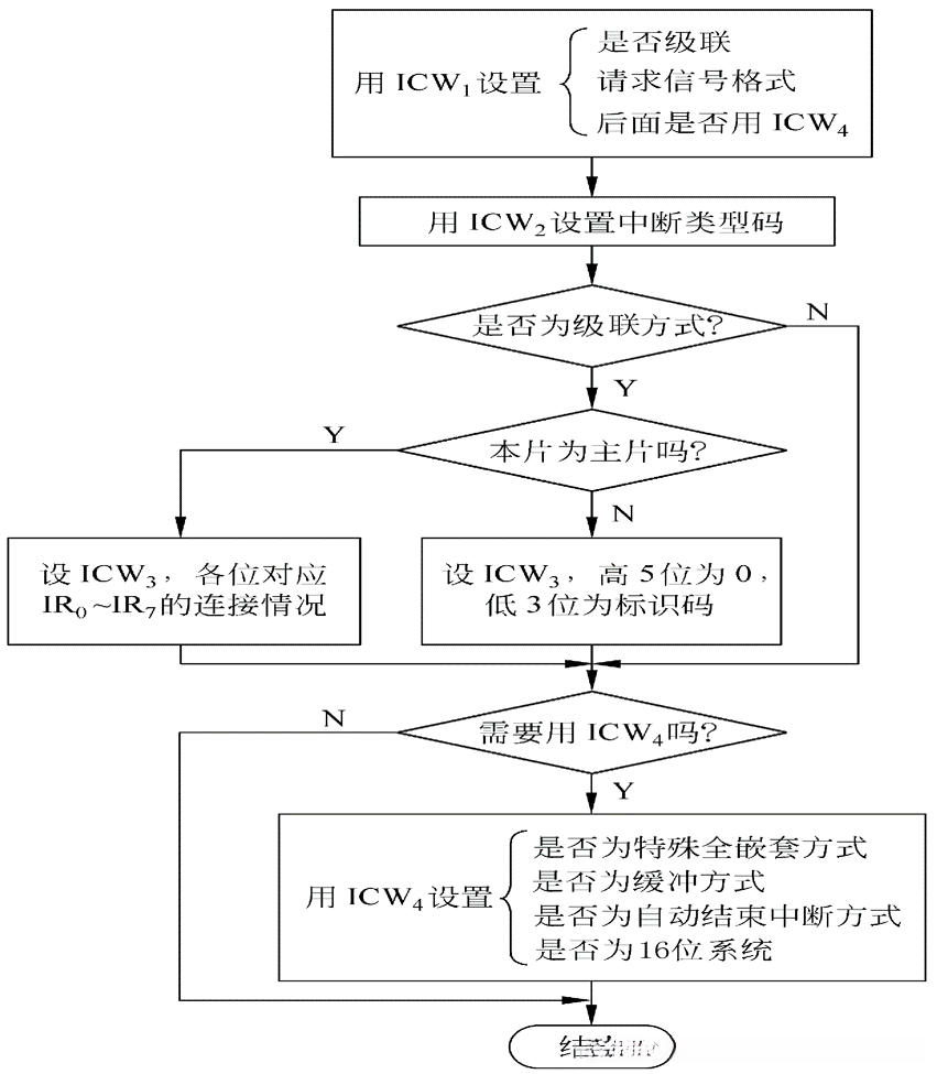
####4.8259A的初始化流程(掌握) (掌握)-记住它

初始化说明:
1.ICW1写入偶端口,ICW2~ICW4写入奇端口
2.ICW1~ICW4的设置次序固定 (16位和32位系统中,ICW4必须设置;只有在级联的情况下,设置ICW3)
3.ICW1和ICW2须设置,ICW3和ICW4非必须
4.在级联时,主片和从片各设置ICW3
5.对于每个8259A,ICW1和ICW2是必须要设置的
ICW3 的设置为中断类型号的高5位,中断类型号的低三位决定了中断请求从哪个引脚进入
第八章
1.DMA控制器初始化
a. 将数据传输缓冲区的起始地址或结束地址送到地址寄存器中
b. 将传输的字节数、字数或双字数送到计数器中
2.8237A的编程结构
通道内最大传输64KB
a. 4个独立的通道,每个通道包含
1).当前地址寄存器 16位
2).基本地址寄存器 16位
3).当前字节计数器 16位
4).基本字节寄存器 16位
5)模式寄存器 8 位
b. 4个通道公用控制寄存器和状态寄存器
3.8237A工作时个各信号的配合引脚变化(掌握)一定考,课本261页
a. 作为从模块工作时
b. 作为主模块工作时 地址16位
4.8237A的工作模式
a. 单字节传输模式
b. 块传输模式
c. 请求传输模式
d. 级联传输模式
第九章
1.16位计数器范围
二进制 最大65536
BCD码 最大10000
2.8253/5254的工作模式
a. 定时
a) 模式2 分频器 周期性的脉冲
b) 模式3 方波发生器
b. 计数
a) 模式0 计数结束产生中断
b) 模式1 可编程的单稳态触发器
c) 模式4 软件触发的选通信号发生器
d) 模式5 硬件触发的选通信号发生器
3.8253/5254的应用举例 (编程题) (掌握) (掌握) (掌握)第二个必考编程题,加油
第十章
1.D/A转换器 方法 a,b 及特点
a. 由并联电阻和运算放大器构成的DA转换器 每个电阻都不一样
b. T型权电阻网络和运算放大器 只有R 和2R (最常见)
c. DA转换器的指标
a) 分辨率 反映了D/A转换器的灵敏度,指辨别最小电压增量的能力
b) 转换精度 绝对转换精度(程度)、相对转换精度(物理量)
c) 转换速率和建立时间 反应转换速率
d) 线性误差
2.A/D转换器
a. AD转换涉及的参数
a) 分辨率 能够分辨最小信号的能力
b) 转换精度 反映了A/D转换器的实际值接近理想值的精确程度
c) 转换率 完成一次A/D转换器所需要的时间的倒数
b. AD转换的方法及特点
a) 计数式AD转换 简单,速度慢
b) 双积分式AD转换 抗干扰能力强 , 速度不算快
c) 逐次逼近AD转换 速度最快
d) 用软件和DA转换器来实现AD转换 速度较快
第十一章
1.键盘结构
a. 最简单的键盘结构 --- 引脚连接
b. 键盘的矩阵式结构 ----矩阵连接
2.键的识别
a. 行扫描法
b. 行反转法
第十五章
1.计算机总线的分类及应用 常见的
a. 内部总线 cpu总线
a) 用来连接片内运算器和寄存器等各大部件
b) 也叫片内总线
b. 局部总线 PCI ISA EISA
a) 连接主机板上的各主要部件
b) 可以通过扩展插槽连接各种适配器,如 卡,声卡、网卡、图像卡等
c. 系统总线
a) 连接各CPU插件板和其他总线主模块
b) 最流行的系统总线是MULTIBUS、STDBUS和VME
d. 外部总线 USB SCSI RS-232-C EIDE
a) 微型机与外设之间的通信总线
2.总线的性能指标
a. 宽度 一次可同时传输的数据位数
b. 总线频率 总线工作时每秒钟能传输数据的次数
c. 传输率 总线工作时每秒钟能传输的字节数

关注公众号,回复“微机必考”,免费获取文件版资源,方便打印,方便随时阅读。
全部评论 (0)
还没有任何评论哟~
