毕业设计课题:电影推荐系统,基于java+SSM+mysql
一、前言介绍
随着电子技术的普及和快速发展,线上管理系统被广泛的使用,有很多商业机构都在实现电子信息化管理,电影推荐也不例外,由比较传统的人工管理转向了电子化、信息化、系统化的管理。
传统的电影推荐管理,一开始都是手工记录,然后将手工记录的文档进行存档;随着电脑的普及,个性化智能电影推荐管理演变成了手工记录后,输入电脑进行存档。传统的管理方式,对管理者来说工作量大。而且这种电影推荐管理的方式,容易出现遗失或因为失误输入错误的信息等等。在这些基础上,我把java技术的基于协同过滤算法的电影推荐系统作为我的毕业设计,希望可以解决电影推荐管理中出现的问题,简化工作人员的压力,也可以方便管理员进行系统化、电子化的管理。
二、主要技术
2.1、SSM框架
当今流行的“SSM组合框架”是Spring + SpringMVC + MyBatis的缩写,受到很多的追捧,“组合SSM框架”是强强联手、各司其职、协调互补的团队精神。web项目的框架,通常更简单的数据源。Spring属于一个轻量级的反转控制框架(IoC),但它也是一个面向表面的容器(AOP)。SpringMVC常常用于控制器的分类工作模式,与模型对象分开,程序对象的作用与自动取款机进行处理。这种解耦治疗使整个系统的个性化变得更加容易。MyBatis是一个良好的可持续性框架,支持普通SQL查询,同时允许对存储过程的高级映射进行数据的优化处理。大型Java Web应用程序的由于开发成本太高,开发后难以维护和开发过程中一些难以解决的问题,而采用“SSM组合框架”,它允许建立业务层次结构,并为这个问题提供良好的解决方案。
2.2、Mysql数据库
MySQL数据库是一种广泛应用于互联网和企业环境中的关系型数据库管理系统。它使用SQL(结构化查询语言)来执行数据的增删改查、数据定义、数据控制等各种操作。MySQL具有以下特点:
开源免费:MySQL是开源软件,用户可以免费下载和使用,并根据需要修改其源代码。
高性能:MySQL设计时充分考虑了速度与效率,适合于大型和高并发的数据处理场景。
跨平台:支持在多种操作系统上运行,包括但不限于Windows、Linux、Unix、macOS等。
可扩展性:通过分区、复制、集群等技术实现水平或垂直扩展,以满足大规模数据存储和访问的需求。
多存储引擎:MySQL支持不同的存储引擎,例如InnoDB(支持事务处理和行级锁定)、MyISAM(早期默认引擎,只支持表级锁定)、MEMORY(所有数据存储在内存中,适合临时存储和快速读取)等,使得用户可以根据应用需求选择最适合的存储方式。
SQL标准兼容:尽管MySQL有自己的SQL方言,但大部分情况下遵循ANSI SQL标准,能够执行标准的SQL语句并提供丰富的函数库支持。
开发者和管理员可以通过命令行界面、图形化工具(如phpMyAdmin、MySQL Workbench等)对MySQL进行管理和维护。
三、功能设计
为了更好的去理清本系统整体思路,对该系统以结构图的形式表达出来,设计实现该系统的功能结构图如下所示:

图3-1系统功能结构图
四、部分功能截图
4.1、系统功能模块
4.1.1、功能列表
电影推荐系统,在系统首页可以查看首页,免费电影,付费电影,电影论坛,电影资讯,个人中心等内容,并进行详细操作。

4.1.2、用户注册
用户注册,在用户注册页面通过填写用户名,姓名,密码,确认密码,年龄,手机号等内容进行注册操作。

4.1.3、免费电影
免费电影,在免费电影页面可以查看电影编号,电影分类,评分,开映时间,时长,导演,主演,点击次数等信息,并进行赞一下,踩一下,点我收藏等操作;

4.1.4、个人中心
个人中心,在个人中心页面通过填写用户名,姓名,密码,性别,年龄,手机号等内容进行更新信息,还可以根据需要对我的发布,我的收藏进行相对应操作。

4.1.5、付费电影
付费电影,在付费电影页面可以查看电影名称,电影编号,电影分类,价格,评分,开映时间,时长,主演,导演,点击次数等信息,并进行立即付费,赞一下,踩一下等操作。

4.2、管理员功能模块
4.2.1、后台登录
后台登录,管理员进入系统前在登录页面根据要求填写用户名和密码,选择角色等信息,点击登录进行登录操作。

4.2.2、功能列表
管理员登录系统后,可以对首页,个人中心,用户管理,电影分类管理,免费电影管理,付费电影管理,电影订单管理,我的电影管理,电影论坛,系统管理等功能进行相应的操作。

4.2.3、用户管理
用户管理,在用户管理页面可以对索引,用户名,姓名,性别,年龄,手机号等内容进行详情,修改和删除操作

4.2.4、免费电影管理
免费电影管理,在免费电影管理页面可以对索引,电影编号,电影名称,视频,海报,评分,开映时间,时长,主演,导演等内容进行详情,修改,查看评论和删除操作;

4.2.5、付费电影管理
付费电影管理,在付费电影管理页面可以对索引,电影编号,电影名称,预告片,价格,海报,评分,开映时间,时长,主演,导演等内容进行详情,修改,查看评论和删除操作;

4.2.6、课程信息管理
课程信息管理,在课程信息管理页面可以对索引、课程名称、课程分类、开课时间、课时、费用、视频预览、封面等内容进行详情,修改,查看评论和删除等操作;

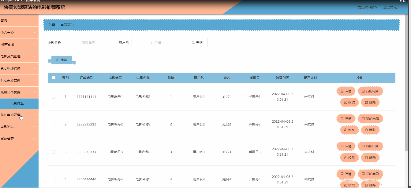
4.2.7、电影订单管理
电影订单管理,在电影订单管理页面可以对 索引,订单编号,电影编号,电影名称,价格,用户名,姓名,手机号,购买时间,是否支付等内容进行详情,我的电影,修改和删除等操作;

4.2.8、我的电影管理
我的电影管理,在我的电影管理页面可以对索引,单编号,电影编号,电影名称,价格,用户名,姓名,手机号,电影链接等内容进行详情和删除操作;

五、论文截图

六、源码和论文获取
项目难度: 中等难度
适用场景: 相关题目的毕业设计
配套论文字数: 10084个字30页
包含内容: 整套源码+完整毕业论文
大家点赞、收藏、关注、评论 啦 。

