CnOpenData全国小区新冠病毒确诊病例数数据
一、数据简介
自2019年底疫情暴发以来,在全球范围内传播速度最快、影响范围最广、防控难度最大的重大公共卫生事件中,我国最先面临考验并展现卓越应对能力。公开确诊数据作为一项关键工作内容既是防疫抗疫的基础依据也是衡量该国防疫成效的重要指标。
自2020年1月起,各地开始持续不断发布新冠病毒确诊病例数据,力求实现对病例信息的全面统计与精细管理,最终实现了对病例数据的小区级精确统计.这样的数据具有高度完整性和即时更新性,为深入分析疫情发展态势以及防疫措施的效果提供了可靠依据.
CnOpenData数据团队发布新冠病毒全国小区确诊病例数据库系统(CNDATA-2019-nCoV),该系统记录了小区地址信息及其地理位置编码,并提供了详细的省市区信息标签以及确诊人数和更新时间的相关数据。
二、数据规模
该数据表格共计11868行数据
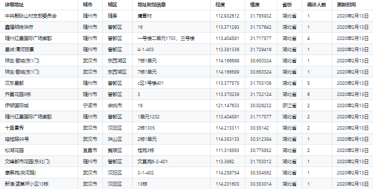
三、字段展示

四、样本数据

五、数据更新频率
年度更新
六、数据列表
CnOpenData·PPP项目的整体概述
CnOpenData CN Open Data
- 免费数据 | CnOpenData中国历年行政区划数据简介
免费数据 | CnOpenData:中国历史天气数据分析与应用概述
数据时间更新提醒 | CnOpenData上市公司专利及相关数据参考信息介绍
简要介绍CnOpenData平台上的各地区最低工资数据分析
数据时间更新提醒 | CnOpenData中国专利引用数据(世界版)简介
该平台旨在提供数据时间更新提醒机制以辅助研究人员高效管理专利信息资源,并为全球范围内的学术研究提供便捷的数据检索服务
CnOpenData平台提供了关于企业集团及其下属公司名称数据的详细概述。该数据库旨在为研究人员和商业分析人士提供便捷的数据获取渠道,并涵盖企业集团规模与结构等关键信息维度。
- CnOpenData中国工业企业专利及引用被引用数据简介 |文末福利!
免费资源库 | CnOpenData平台提供唐诗宋词数据概述
免费获取 | CnOpenData空气质量站点监测数据分析概览https://link.zhihu.com/?target=跳转至https://mp.weixin.qq.com/s?biz=MzU2MTgzNjIwOQ=&mid=2247484694&index=1&sn=&chksm=fkEzwVgZqBhEYJlGxYaqJWqJXkZqPfCZTlZvXGwlMkYrUmVwaWdlbnRlcnQuYiRlcGkgYWlu
该中心为地方留言板发布中心
CnOpenData上市公司绿色专利及其引用数据
CnOpenData国家级科研项目数据库概述
