毕业设计课题:口腔管理平台,基于java+springboot+mysql
一、前言介绍
随着国内经济形势的不断发展,中国互联网进入了一个难得的高峰发展时期,这使得中外资本家纷纷转向互联网市场。然而,许多管理领域的不合理结构,人员不足以及管理需求的增加使得更多的人具备了互联网管理的意识。
在当今高度发达的信息中,信息管理改革已成为一种更加广泛和全面的趋势。“口腔管理平台”是基于Mysql数据库,在springboot框架程序设计的基础上实现的。为确保中国经济的持续发展,信息时代日益更新,更是蓬勃发展。同时,随着信息社会的快速发展,口腔管理平台面临着越来越多的信息,因此很难获得他们对高效信息的需求,如何使用方便快捷的方式使查询者在广阔的口腔管理平台信息中查询,存储,管理和共享信息方面有效,对我们的学习,工作和生活具有重要的现实意义。因此,国内外学术界对此进行了深入而广泛的研究,一个新的研究领域——口腔管理平台诞生了
二、主要技术
2.1、Springboot框架
SpringBoot是一个全新开源的轻量级框架。基于Spring4.0设计,其不仅继承了Spring框架原来有的优秀特性,而且还通过简化配置文件来进一步简化了Spring应用的整个搭建以及开发过程。另外在原本的Spring中由于随着项目的扩大导入的jar包数量越来越大,随之出现了jar包版本之间的兼容性问题,而此时SpringBoot通过集成大量的框架使得依赖包的版本冲突,以及引用的不稳定性问题得到了很好的解决。
2.2、Mysql数据库
MySQL数据库是一种广泛应用于互联网和企业环境中的关系型数据库管理系统。它使用SQL(结构化查询语言)来执行数据的增删改查、数据定义、数据控制等各种操作。MySQL具有以下特点:
开源免费:MySQL是开源软件,用户可以免费下载和使用,并根据需要修改其源代码。
高性能:MySQL设计时充分考虑了速度与效率,适合于大型和高并发的数据处理场景。
跨平台:支持在多种操作系统上运行,包括但不限于Windows、Linux、Unix、macOS等。
可扩展性:通过分区、复制、集群等技术实现水平或垂直扩展,以满足大规模数据存储和访问的需求。
多存储引擎:MySQL支持不同的存储引擎,例如InnoDB(支持事务处理和行级锁定)、MyISAM(早期默认引擎,只支持表级锁定)、MEMORY(所有数据存储在内存中,适合临时存储和快速读取)等,使得用户可以根据应用需求选择最适合的存储方式。
SQL标准兼容:尽管MySQL有自己的SQL方言,但大部分情况下遵循ANSI SQL标准,能够执行标准的SQL语句并提供丰富的函数库支持。
开发者和管理员可以通过命令行界面、图形化工具(如phpMyAdmin、MySQL Workbench等)对MySQL进行管理和维护。
三、功能设计
为了更好的去理清本系统整体思路,对该系统以结构图的形式表达出来,设计实现该系统的功能结构图如下所示:

图3-1系统功能结构图
四、部分功能截图
4.1、学生前台功能
4.1.1、登录
管理员登录,通过填写注册时输入的用户名、密码、角色进行登录。

4.1.2、功能列表
管理员登录进入口腔管理平台可以查看首页、个人中心、会员管理、病例就诊信息管理、牙齿保健产品管理、复查提醒管理、预约挂号管理、药品信息管理、留言板管理、系统管理、订单管理等信息。

4.1.3、 个人中心
个人中心,在个人中心页面中可以通过填写原密码、新密码、确认密码等信息进行添加、修改,如图5-2所示。还可以根据需要对个人信息进行添加,修改或删除等详细操作。

4.1.4、 会员管理
会员管理,在会员管理页面中可以查看会员号、姓名、性别、手机、年龄、性别、手机、邮箱、积分等信息,并可根据需要对会员管理进行详情、修改或删除等操作。

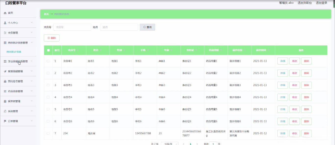
4.1.5、 病例就诊信息管理
病例就诊信息管理,在病例就诊信息管理页面中可以查看会员号、姓名、性别、手机、年龄、身份证、药品用量、就诊信息、就诊时间等信息,并可根据需要对病例就诊信息管理进行详情、修改或删除等详细操作。

4.1.6、 牙齿保健产品管理
牙齿保健产品管理,在牙齿保健产品管理页面中可以查看产品编号、产品名称、产品类型、图片、积分、适用人群、使用方法、注意事项等内容,并且根据需要对牙齿保健产品管理进行详情、添加,修改或删除等详细操作。

4.1.7、 轮播图
轮播图;该页面为轮播图管理界面。管理员可以在此页面进行首页轮播图的管理,通过新建操作可在轮播图中加入新的图片,还可以对以上传的图片进行修改操作,以及图片的删除操作。

4.1.8、 预约挂号管理
预约挂号管理,在预约挂号管理页面中可以查看会员号、姓名、预约就诊时间、备注、审核回复、审核状态、审核等内容,并且根据需要对预约挂号管理进行详情、添加,修改或删除等详细操作。
4.1.9、 药品信息管理
药品信息管理,在药品信息管理页面中可以查看药品编号、药品名称、图片、备注、功能主治、不良反应、禁忌事项等内容,并且根据需要对药品信息管理进行详情、添加,修改或删除等详细操作。

4.1.10、 留言板管理
留言板管理,在留言板管理页面中可以查看用户名、留言内容、回复内容等内容,并且根据需要对留言板管理进行详情、添加,修改或删除等详细操作。

4.1.11、 留言板管理
留言板管理,在留言板管理页面中可以查看用户名、留言内容、回复内容等内容,并且根据需要对留言板管理进行详情、添加,修改或删除等详细操作。

4.3、 会员功能模块
4.3.1、功能列表
会员登录进入口腔管理平台可以查看首页、个人中心、病例就诊信息管理、复查提醒管理、预约挂号管理、我的收藏管理、订单管理等内容。

4.3.2、 我的收藏管理
我的收藏管理,在我的收藏管理页面中可以查看收藏ID、表名、收藏名称、收藏图片等信息内容,并且根据需要对我的收藏管理进行修改或删除等其他详细操作。

4.3.3、 预约挂号管理
预约挂号管理,在预约挂号管理页面中通过填写会员号、姓名、预约就诊时间、备注、审核回复、审核状态、审核等内容进行详情、删除。

4.3.4、 订单管理
订单管理,在订单管理页面中通过填写订单编号、商品名称、商品图片、购买数量、价格/积分、折扣价格、总价格/总积分、折扣总价格、支付类型、状态、地址等内容进行详情、删除。

4.4、前台首页功能模块
4.4.1、功能列表
口腔管理平台,在口腔管理平台可以查看首页、牙齿保健产品、牙齿保护小知识、留言反馈、个人中心、后台管理、购物车等内容

4.4.2、 登录、会员注册
登录、会员注册,通过会员注册获取会员号、密码、姓名、年龄、手机、邮箱等信息进行注册、登录


4.4.3、 牙齿保健产品
牙齿保健产品,在牙齿保健产品页面可以填写产品名称、价格、产品编号、产品类型、积分、适用人群、使用方法、注意事项等信息进行立即购买

4.4.4、 确认下单
确认下单,在确认下单页面可以填写选择收货地址、清单列表等进行支付

4.4.5、 收货地址添加
收货地址添加,在收货地址添加页面可以填写联系人、手机号码、默认地址、选择地址等信息进行添加

五、论文截图

六、源码和论文获取
项目难度: 中等难度
适用场景: 相关题目的毕业设计
配套论文字数: 10947个字36页
包含内容: 整套源码+完整毕业论文
大家点赞、收藏、关注、评论 啦 。

