基于java+springboot+vue实现的房屋租赁系统(文末源码+lw+ppt)23-397
一、研究背景
在当今社会现代生活的节奏愈发加快,但对经济需求的标准逐步降低,因此越来越多的人倾向于寻找便捷高效的解决方案.随着经济发展,居民的生活水平持续提升,然而由于工作强度大以及疫情的影响,传统线下房屋租赁交易模式已经难以满足市场需求.在这种背景下,越来越多的人开始将目光转向线上平台,通过网站实现房源信息浏览与管理.基于此想法,我展开了深入研究:如果能开发一款集成式管理系统,其中系统前台能够实时更新房源数据库,后台则提供审核、即时回复等功能模块,不仅能够提升用户体验,更能优化后台管理员的工作效率.对于广大房东来说,这种系统将简化日常操作流程;而对于平台管理者而言,则能有效整合各类业务数据项[2].
二、研究内容
房屋租赁系统主要分为前台、管理员和用户、房东后台。
其主要职能包含但不限于:首页页面、房源详细信息、公告内容、用户反馈记录以及后台管理系统等。
改写说明
房东后台主要功能为:房源信息、在线咨询、咨询回复、求租回复等功能。
用户后台的核心功能包括:预约与管理、合同处理与管理、咨询反馈处理、投诉处理与反馈以及房屋信息发布与出租管理等功能。
三、业务需求分析
1****、****管理员需求分析
管理员端的主要功能是面向系统的管理人员提供服务。该模块负责处理用户的各项信息管理需求,并涵盖查询房源详情、安排预约服务以及调整或删除相关信息等内容。同时提供关于系统运行状态的全面监控。
管理员用例分析图,如图3-1所示。

图3-1管理员用例分析图
****2、****用户需求分析
用户的主要功能涉及对个人账号和密码实施更新维护,并具体包括首页以及个人中心的日常运营;同时涵盖预约信息管理和合同信息管理;还涉及在线咨询管理和咨询回复管理;此外还包括投诉信息管理和求租信息 management及其相应的咨询回复处理。
用户用例分析图,如图3-2所示。

图3-2用户用例分析图
3、房东********需求分析
房东的主要职责是负责对个人账号及密码实施更新维护工作;随后会对首页以及个人中心等多种页面的信息执行查询详情删除操作
房东用例分析图,如图3-3所示。

图3-3房东用例分析图
四、系统设计
(一)系统框架设计
基于MVC模型的架构设计下, 该系统将被划分为表示层、服务层和数据库层三个层级. 该架构旨在实现业务的分离与解耦, 进而达到高内聚低耦合的最佳状态. 在代码实现过程中, 对于共通代码以及重复逻辑代码进行提炼与封装, 这不仅能够显著提高代码使用效率, 而且可以使代码逻辑更加清晰易懂[11].
- 表示层:Web浏览器作为展示层的核心角色,在线浏览功能可由用户通过Web界面访问该展示层。
- 基于Java语言在前端Web页面中的应用。
- 借助Ajax技术实现与后端业务服务间的交互机制,并支持Web页面的局部动态更新。
当系统使用者进入该体系后,在逻辑层能够调用相关业务功能界面。
主要有三个核心商业功能模块:房源信息、预约信息以及求租信息构成基础。
该系统基于MySQL实现了对数据持久性管理。为了实现了数据规范化的规范化、精简以及快捷存储,将采用MybatisORM持久性架构。
(二) 系统功能模块设计
该房屋租赁系统在设计与实施过程中采用了模块化设计策略,在整合具有相似功能的模块时能够提升内部功能水平并减少各组件之间的相互联系最终目标是降低各组件间的相互干扰
管理员后台的主要功能包括:用户信息管理、房东信息管理和维护、房源列表维护、预定记录管理和生成、合同文档管理和生成、在线咨询服务提供与维护、客户服务支持与反馈处理、投诉处理与记录维护以及申诉事务处理与反馈维护等功能。系统功能模块图如图4-1所示。

图4-1系统功能模块图
(三)数据库设计与实现
在每个系统中数据库都扮演着至关重要的角色,在优化数据库设计将显著提升系统的运行效率并确保所有逻辑功能都能顺利实现 因此,在进行数据库设计时应充分考虑系统的实际需求 以确保其设计不仅更加完善还能有效满足系统的功能需求
概念模型设计
概念模型是构建现实世界中问题出现事物的一种表示方式,在ER模型中将实体及其关系组织成一个结构化图表,在E-R分析中能够清晰展示系统中涉及各实体间的相互关联情况
用户信息实体体属图如下所示。

图4-2用户信息实体属性图
房东信息实体属图如下所示。

图4-3房东信息实体属图
投诉信息实体属图如下所示。

图4-4投诉信息实体属图
求租信息实体属图如下所示。

图4-5求租信息实体属图
****
(四) 数据库逻辑结构设计
在本系统中基于目前广泛使用的MySQL数据库进行了应用,并且构建了多个数据表如下所示:
表4-1:求租信息
| 字段名称 | 类型 | 长度 | 字段说明 | 主键 | 默认值 |
|---|---|---|---|---|---|
| id | bigint | 主键 | 主键 | ||
| addtime | timestamp | 创建时间 | CURRENT_TIMESTAMP | ||
| qiuzumingcheng | varchar | 200 | 求租名称 | ||
| qiuzuleixing | varchar | 200 | 求租类型 | ||
| chengshouzujin | varchar | 200 | 承受租金范围 | ||
| qiuzudizhi | varchar | 200 | 求租地址 | ||
| qu | varchar | 200 | 区 | ||
| xian | varchar | 200 | 县 | ||
| xuqiuneirong | longtext | 4294967295 | 需求内容 | ||
| zhanghao | varchar | 200 | 账号 | ||
| xingming | varchar | 200 | 姓名 | ||
| shoujihaoma | varchar | 200 | 手机号码 | ||
| sfsh | varchar | 200 | 是否审核 | 待审核 | |
| shhf | longtext | 4294967295 | 审核回复 |
表4-2:咨询回复
| 字段名称 | 类型 | 长度 | 字段说明 | 主键 | 默认值 |
|---|---|---|---|---|---|
| id | bigint | 主键 | 主键 | ||
| addtime | timestamp | 创建时间 | CURRENT_TIMESTAMP | ||
| fangwumingcheng | varchar | 200 | 房屋名称 | ||
| fangdongzhanghao | varchar | 200 | 房东账号 | ||
| fangdongxingming | varchar | 200 | 房东姓名 | ||
| zixunneirong | longtext | 4294967295 | 咨询内容 | ||
| zhanghao | varchar | 200 | 账号 | ||
| xingming | varchar | 200 | 姓名 | ||
| huifuneirong | longtext | 4294967295 | 回复内容 | ||
| huifuriqi | date | 回复日期 |
表4-3:求租类型
| 字段名称 | 类型 | 长度 | 字段说明 | 主键 | 默认值 |
|---|---|---|---|---|---|
| id | bigint | 主键 | 主键 | ||
| addtime | timestamp | 创建时间 | CURRENT_TIMESTAMP | ||
| qiuzuleixing | varchar | 200 | 求租类型 |
表4-4:在线咨询
| 字段名称 | 类型 | 长度 | 字段说明 | 主键 | 默认值 |
|---|---|---|---|---|---|
| id | bigint | 主键 | 主键 | ||
| addtime | timestamp | 创建时间 | CURRENT_TIMESTAMP | ||
| fangwumingcheng | varchar | 200 | 房屋名称 | ||
| fangdongzhanghao | varchar | 200 | 房东账号 | ||
| fangdongxingming | varchar | 200 | 房东姓名 | ||
| zixunneirong | longtext | 4294967295 | 咨询内容 | ||
| zhanghao | varchar | 200 | 账号 | ||
| xingming | varchar | 200 | 姓名 | ||
| zixunriqi | date | 咨询日期 |
表4-5:求租回复
| 字段名称 | 类型 | 长度 | 字段说明 | 主键 | 默认值 |
|---|---|---|---|---|---|
| id | bigint | 主键 | 主键 | ||
| addtime | timestamp | 创建时间 | CURRENT_TIMESTAMP | ||
| qiuzumingcheng | varchar | 200 | 求租名称 | ||
| qiuzuleixing | varchar | 200 | 求租类型 | ||
| chengshouzujin | varchar | 200 | 承受租金范围 | ||
| qiuzudizhi | varchar | 200 | 求租地址 | ||
| zhanghao | varchar | 200 | 账号 | ||
| xingming | varchar | 200 | 姓名 | ||
| huifuneirong | longtext | 4294967295 | 回复内容 | ||
| fangdongzhanghao | varchar | 200 | 房东账号 | ||
| fangdongxingming | varchar | 200 | 房东姓名 | ||
| lianxishouji | varchar | 200 | 联系手机 | ||
| huifushijian | datetime | 回复时间 | |||
| sfsh | varchar | 200 | 是否审核 | 待审核 | |
| shhf | longtext | 4294967295 | 审核回复 |
表4-6:预约信息
| 字段名称 | 类型 | 长度 | 字段说明 | 主键 | 默认值 |
|---|---|---|---|---|---|
| id | bigint | 主键 | 主键 | ||
| addtime | timestamp | 创建时间 | CURRENT_TIMESTAMP | ||
| fangwumingcheng | varchar | 200 | 房屋名称 | ||
| fangwuleixing | varchar | 200 | 房屋类型 | ||
| fangwudizhi | varchar | 200 | 房屋地址 | ||
| zujin | varchar | 200 | 租金 | ||
| fangdongzhanghao | varchar | 200 | 房东账号 | ||
| fangdongxingming | varchar | 200 | 房东姓名 | ||
| lianxishouji | varchar | 200 | 联系手机 | ||
| zhanghao | varchar | 200 | 账号 | ||
| xingming | varchar | 200 | 姓名 | ||
| shoujihaoma | varchar | 200 | 手机号码 | ||
| yuyueshijian | date | 预约时间 | |||
| yuyuebeizhu | varchar | 200 | 预约备注 | ||
| shenqingriqi | date | 申请日期 | |||
| sfsh | varchar | 200 | 是否审核 | 待审核 | |
| shhf | longtext | 4294967295 | 审核回复 |
表4-7:公告信息
| 字段名称 | 类型 | 长度 | 字段说明 | 主键 | 默认值 |
|---|---|---|---|---|---|
| id | bigint | 主键 | 主键 | ||
| addtime | timestamp | 创建时间 | CURRENT_TIMESTAMP | ||
| title | varchar | 200 | 标题 | ||
| introduction | longtext | 4294967295 | 简介 | ||
| picture | longtext | 4294967295 | 图片 | ||
| content | longtext | 4294967295 | 内容 |
表4-8:留言反馈
| 字段名称 | 类型 | 长度 | 字段说明 | 主键 | 默认值 |
|---|---|---|---|---|---|
| id | bigint | 主键 | 主键 | ||
| addtime | timestamp | 创建时间 | CURRENT_TIMESTAMP | ||
| userid | bigint | 留言人id | |||
| username | varchar | 200 | 用户名 | ||
| avatarurl | longtext | 4294967295 | 头像 | ||
| content | longtext | 4294967295 | 留言内容 | ||
| cpicture | longtext | 4294967295 | 留言图片 | ||
| reply | longtext | 4294967295 | 回复内容 | ||
| rpicture | longtext | 4294967295 | 回复图片 |
表4-9:合同信息
| 字段名称 | 类型 | 长度 | 字段说明 | 主键 | 默认值 |
|---|---|---|---|---|---|
| id | bigint | 主键 | 主键 | ||
| addtime | timestamp | 创建时间 | CURRENT_TIMESTAMP | ||
| fangwumingcheng | varchar | 200 | 房屋名称 | ||
| fangwuleixing | varchar | 200 | 房屋类型 | ||
| fangwudizhi | varchar | 200 | 房屋地址 | ||
| zujin | varchar | 200 | 租金 | ||
| fangdongzhanghao | varchar | 200 | 房东账号 | ||
| fangdongxingming | varchar | 200 | 房东姓名 | ||
| lianxishouji | varchar | 200 | 联系手机 | ||
| hetongfujian | longtext | 4294967295 | 合同附件 | ||
| zhanghao | varchar | 200 | 账号 | ||
| xingming | varchar | 200 | 姓名 | ||
| shoujihaoma | varchar | 200 | 手机号码 | ||
| qiandingriqi | date | 签订日期 | |||
| qiandingbeizhu | longtext | 4294967295 | 签订备注 | ||
| ispay | varchar | 200 | 是否支付 | 未支付 |
表4-10:用户表
| 字段名称 | 类型 | 长度 | 字段说明 | 主键 | 默认值 |
|---|---|---|---|---|---|
| id | bigint | 主键 | 主键 | ||
| username | varchar | 100 | 用户名 | ||
| password | varchar | 100 | 密码 | ||
| role | varchar | 100 | 角色 | 管理员 | |
| addtime | timestamp | 新增时间 | CURRENT_TIMESTAMP |
表4-11:投诉信息
| 字段名称 | 类型 | 长度 | 字段说明 | 主键 | 默认值 |
|---|---|---|---|---|---|
| id | bigint | 主键 | 主键 | ||
| addtime | timestamp | 创建时间 | CURRENT_TIMESTAMP | ||
| tousubianhao | varchar | 200 | 投诉编号 | ||
| fangwumingcheng | varchar | 200 | 房屋名称 | ||
| fangdongzhanghao | varchar | 200 | 房东账号 | ||
| fangdongxingming | varchar | 200 | 房东姓名 | ||
| tousuneirong | longtext | 4294967295 | 投诉内容 | ||
| tousushijian | datetime | 投诉时间 | |||
| zhanghao | varchar | 200 | 账号 | ||
| xingming | varchar | 200 | 姓名 | ||
| sfsh | varchar | 200 | 是否审核 | 待审核 | |
| shhf | longtext | 4294967295 | 审核回复 |
表4-12:收藏表
| 字段名称 | 类型 | 长度 | 字段说明 | 主键 | 默认值 |
|---|---|---|---|---|---|
| id | bigint | 主键 | 主键 | ||
| addtime | timestamp | 创建时间 | CURRENT_TIMESTAMP | ||
| userid | bigint | 用户id | |||
| refid | bigint | 商品id | |||
| tablename | varchar | 200 | 表名 | ||
| name | varchar | 200 | 名称 | ||
| picture | longtext | 4294967295 | 图片 | ||
| type | varchar | 200 | 类型(1:收藏,21:赞,22:踩,31:竞拍参与,41:关注) | 1 | |
| inteltype | varchar | 200 | 推荐类型 | ||
| remark | varchar | 200 | 备注 |
表4-13:token表
| 字段名称 | 类型 | 长度 | 字段说明 | 主键 | 默认值 |
|---|---|---|---|---|---|
| id | bigint | 主键 | 主键 | ||
| userid | bigint | 用户id | |||
| username | varchar | 100 | 用户名 | ||
| tablename | varchar | 100 | 表名 | ||
| role | varchar | 100 | 角色 | ||
| token | varchar | 200 | 密码 | ||
| addtime | timestamp | 新增时间 | CURRENT_TIMESTAMP | ||
| expiratedtime | timestamp | 过期时间 | CURRENT_TIMESTAMP |
表4-14:申诉信息
| 字段名称 | 类型 | 长度 | 字段说明 | 主键 | 默认值 |
|---|---|---|---|---|---|
| id | bigint | 主键 | 主键 | ||
| addtime | timestamp | 创建时间 | CURRENT_TIMESTAMP | ||
| shensubianhao | varchar | 200 | 申诉编号 | ||
| fangwumingcheng | varchar | 200 | 房屋名称 | ||
| fangdongzhanghao | varchar | 200 | 房东账号 | ||
| fangdongxingming | varchar | 200 | 房东姓名 | ||
| shensuneirong | longtext | 4294967295 | 申诉内容 | ||
| shensushijian | datetime | 申诉时间 | |||
| sfsh | varchar | 200 | 是否审核 | 待审核 | |
| shhf | longtext | 4294967295 | 审核回复 |
表4-15:关于我们
| 字段名称 | 类型 | 长度 | 字段说明 | 主键 | 默认值 |
|---|---|---|---|---|---|
| id | bigint | 主键 | 主键 | ||
| addtime | timestamp | 创建时间 | CURRENT_TIMESTAMP | ||
| title | varchar | 200 | 标题 | ||
| subtitle | varchar | 200 | 副标题 | ||
| content | longtext | 4294967295 | 内容 | ||
| picture1 | longtext | 4294967295 | 图片1 | ||
| picture2 | longtext | 4294967295 | 图片2 | ||
| picture3 | longtext | 4294967295 | 图片3 |
表4-16:配置文件
| 字段名称 | 类型 | 长度 | 字段说明 | 主键 | 默认值 |
|---|---|---|---|---|---|
| id | bigint | 主键 | 主键 | ||
| name | varchar | 100 | 配置参数名称 | ||
| value | varchar | 100 | 配置参数值 |
表4-17:关于我们
| 字段名称 | 类型 | 长度 | 字段说明 | 主键 | 默认值 |
|---|---|---|---|---|---|
| id | bigint | 主键 | 主键 | ||
| addtime | timestamp | 创建时间 | CURRENT_TIMESTAMP | ||
| title | varchar | 200 | 标题 | ||
| subtitle | varchar | 200 | 副标题 | ||
| content | longtext | 4294967295 | 内容 | ||
| picture1 | longtext | 4294967295 | 图片1 | ||
| picture2 | longtext | 4294967295 | 图片2 | ||
| picture3 | longtext | 4294967295 | 图片3 |
表4-18:用户
| 字段名称 | 类型 | 长度 | 字段说明 | 主键 | 默认值 |
|---|---|---|---|---|---|
| id | bigint | 主键 | 主键 | ||
| addtime | timestamp | 创建时间 | CURRENT_TIMESTAMP | ||
| zhanghao | varchar | 200 | 账号 | ||
| mima | varchar | 200 | 密码 | ||
| xingming | varchar | 200 | 姓名 | ||
| xingbie | varchar | 200 | 性别 | ||
| youxiang | varchar | 200 | 邮箱 | ||
| shoujihaoma | varchar | 200 | 手机号码 | ||
| touxiang | longtext | 4294967295 | 头像 |
表4-19:县
| 字段名称 | 类型 | 长度 | 字段说明 | 主键 | 默认值 |
|---|---|---|---|---|---|
| id | bigint | 主键 | 主键 | ||
| addtime | timestamp | 创建时间 | CURRENT_TIMESTAMP | ||
| qu | varchar | 200 | 区 | ||
| xian | varchar | 200 | 县 |
表4-20:房源信息
| 字段名称 | 类型 | 长度 | 字段说明 | 主键 | 默认值 |
|---|---|---|---|---|---|
| id | bigint | 主键 | 主键 | ||
| addtime | timestamp | 创建时间 | CURRENT_TIMESTAMP | ||
| fangwumingcheng | varchar | 200 | 房屋名称 | ||
| fangwuleixing | varchar | 200 | 房屋类型 | ||
| fangwutupian | longtext | 4294967295 | 房屋图片 | ||
| fangwudizhi | varchar | 200 | 房屋地址 | ||
| zhuangtai | varchar | 200 | 状态 | ||
| chaoxiang | varchar | 200 | 朝向 | ||
| mianji | varchar | 200 | 面积 | ||
| peizhi | longtext | 4294967295 | 配置 | ||
| zujin | int | 租金 | |||
| qu | varchar | 200 | 区 | ||
| xian | varchar | 200 | 县 | ||
| fangwuxiangqing | longtext | 4294967295 | 房屋详情 | ||
| fangdongzhanghao | varchar | 200 | 房东账号 | ||
| fangdongxingming | varchar | 200 | 房东姓名 | ||
| lianxishouji | varchar | 200 | 联系手机 | ||
| faburiqi | date | 发布日期 | |||
| sfsh | varchar | 200 | 是否审核 | 待审核 | |
| shhf | longtext | 4294967295 | 审核回复 | ||
| clicktime | datetime | 最近点击时间 |
表4-21:房屋类型
| 字段名称 | 类型 | 长度 | 字段说明 | 主键 | 默认值 |
|---|---|---|---|---|---|
| id | bigint | 主键 | 主键 | ||
| addtime | timestamp | 创建时间 | CURRENT_TIMESTAMP | ||
| fangwuleixing | varchar | 200 | 房屋类型 |
表4-22:房东
| 字段名称 | 类型 | 长度 | 字段说明 | 主键 | 默认值 |
|---|---|---|---|---|---|
| id | bigint | 主键 | 主键 | ||
| addtime | timestamp | 创建时间 | CURRENT_TIMESTAMP | ||
| fangdongzhanghao | varchar | 200 | 房东账号 | ||
| mima | varchar | 200 | 密码 | ||
| fangdongxingming | varchar | 200 | 房东姓名 | ||
| xingbie | varchar | 200 | 性别 | ||
| shenfenzheng | varchar | 200 | 身份证 | ||
| lianxishouji | varchar | 200 | 联系手机 | ||
| fangchanzheng | longtext | 4294967295 | 房产证 | ||
| sfsh | varchar | 200 | 是否审核 | 待审核 | |
| shhf | longtext | 4294967295 | 审核回复 |
表4-23:区
| 字段名称 | 类型 | 长度 | 字段说明 | 主键 | 默认值 |
|---|---|---|---|---|---|
| id | bigint | 主键 | 主键 | ||
| addtime | timestamp | 创建时间 | CURRENT_TIMESTAMP | ||
| qu | varchar | 200 | 区 |
五、系统实现
(一)前台系统****功能模块
用户访问该平台的网址后,立刻呈现的是首页界面,在该页面中即可查看包括导航条显示的首页,"房源信息","公告信息","留言反馈"以及后台管理等功能.

图5-1 系统首页界面图
启动用户注册流程,请用户通过注册页面详细填写账号信息(包括但不限于账号名称、登录名及密码设置),重复确认密码以确保安全性;同时需提供必要的身份验证资料(如姓名、性别等),并完成身份验证后方可进行下一步操作;最后请确保已正确设置个人头像信息以完成整个注册流程的操作)

图5-2用户注册界面图
用户被引导至登录界面后进行操作,在登录页面中填入用户名和密码字段,并完成身份验证后进行操作(如图5-3所示)。

图5-3用户登录界面图
该用户点击进入房源详情页面,在搜索栏中填写房屋名称及类型,在指定位置插入房屋图片链接及地址信息,并根据需求选择状态及方向参数。随后按照提示填写面积大小及租金水平数据,在区/县名范围内选择合适的房东账号及姓名,并提供联系方式以便后续操作。如果需要可保存当前筛选结果并进行预约/咨询/反馈等服务。如图5-4所示

图5-4房源信息界面图
(二)后台房东功能模块
房东建立账户并登录系统,在特定页面输入相关信息后选择提交或完成登录流程,并根据提示完成相关操作。


图5-5房东注册、房东登录界面图
当房东登录系统后

图5-6房东功能界面图
(三)后台用户功能模块
用户登录,用户通过登录页面输入信息完成后,并点击登录操作,如图5-7所示。

图5-7用户登录界面图
在用户登录系统之后(或:用户登录完成后),该系统具备首页功能(或:主页面)、个人中心功能(或:个人信息模块)、预订订单管理和相关服务功能(或:订单详情/预览),包括但不限于客户评价处理(或:客户反馈模块)、住宿记录管理和相关服务功能(或:住宿信息查询),以及订单取消处理等功能

图5-8用户功能界面图
(四)后台管理员功能模块
为了进入系统后台页面,管理员必须依次输入账号信息、密码以及选择相应的角色后才能完成登录流程。如图5-9所示的界面即为管理员的登录页面。

图5-9管理员登录界面图
当管理员登录至系统后台界面时

图5-10管理员功能界面
系统管理员点击进入'房东管理'功能模块,在'房东管理'页面中完成相应的查询操作或修改操作,并根据需要删除相关信息。

图5-11房东管理界面图
系统管理员点击进入用户管理界面,在相应的用户管理页面中, 对账号信息, 姓名字段值(即用户的姓名), 性别信息(即用户的性別), 邮箱地址(即用户的电子邮箱), 手机号码信息(即用户的电话号码), 个人图片等内容执行查询操作或数据更新操作或删除操作等操作, 如图5-12所示

图5-12用户管理界面图
系统管理员点击"房源信息管理"按钮,在该页面中根据需求查询或修改以下各项:房号(房屋名称) 产权性质(房屋类型) 图片链接(房屋图片) 地址(房屋地址) 状态码(状态) 朝向(朝向) 面积(面积) 租金价格(租金) 区域编码(区) 县名(县) 房东账号名(房东账号) 姓名(房东姓名) 联系电话号码(联系手机) 发布日期码(发布日期) 等数据;并可执行删除相关信息的操作 如图5-13所示

图5-13房源信息管理界面图
管理员在预约信息管理页面进行操作,在该页面上可查看并处理以下各项信息:房屋名称、房屋类型以及相关地址等基础资料;租金及房东相关信息;联系方式;约定了的时间及备注;申请时间和审核结果等数据项,并支持查询或删除功能

图5-14预约信息管理界面图
系统管理员点击进入合同信息管理模块,在该页面中对房屋名称字段进行赋值操作,在房屋类型字段选择对应的类型,在房屋地址字段填写详细的地址信息,在租金字段输入金额值,在房东账号字段输入房东的登录名,在房东姓名字段输入姓名值,在联系手机字段填入联系电话值,在合同附件字段选择相关附件文件,在账号字段选择对应的账户名,在姓名字段填入负责人姓名值以及在手机号码字段填入手机号值状态的基础上,在签订日期字段设置当前日期,并设置是否支付标记为"是"的状态;随后完成查询操作或删除相关信息。

图5-15合同信息管理界面图
在进行'咨询'管理时,在相关'咨询'管理界面中对房屋名称及对应的房名称东编号账号信息(包括房东姓名)、账号及房东姓名信息(包括咨询日期)等数据进行查询或删除操作,请参考图5-16

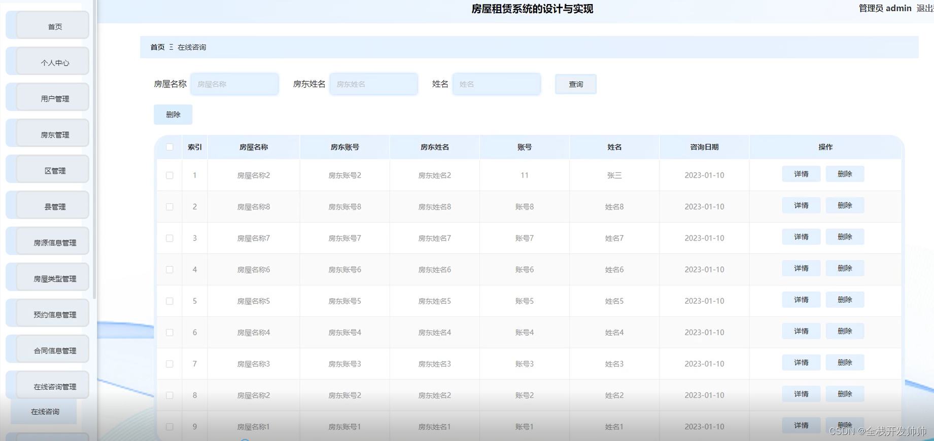
图5-16在线咨询管理界面图
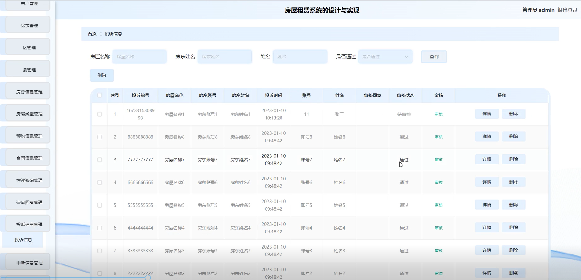
系统管理员点击进入“信息管理系统”中的“投诉信息管理模块”,在该模块的“投诉信息管理界面”中配置相关参数后,在线对录入的字段包括:用户编号(即投诉编号)、房屋地址(即房屋名称)、出租人账号及名称(即房东账号及姓名)、提交时间(即投诉时间)、系统账号及名称(即账号)、负责人姓名(即姓名)、审核反馈结果(即审核回复)以及审核状态等核心数据项进行查询或记录性删除操作,并可实时查看处理进度及结果记录情况;具体操作流程可参考图5-18所示的操作界面

图5-17投诉信息管理界面图
六、系统测试
(一)系统测试的方法
1.白盒测试法
所谓白盒测试即指基于流程的方法进行结构化方法论上的测验与逻辑导向性检验,并称其为针对系统实体的具体评估手段[13]。而所谓的白箱试验则是设定特定条件或循环案例来实现对系统架构内部组成元素的全面排查与覆盖式的审查工作。在执行白盒测验期间,则会对以下所述系统程序展开详细考察与验证。
(1)对系统程序中的全部单独的运行通路进行一次最小的试验;
(2)对两种情形下的“真”与“假”进行逻辑判断,至少进行一次;
(3)在一个系统周期的过程中,对它的周期和操作进行试验;
(4)检验系统内的资料架构是否有效。
2.黑盒测试法
通常所说的黑盒测试是指基于现有程序设计架构的方法,在这种情况下研究者将整个系统作为一个封闭装置看待而不了解其采用的具体体系. 采用'black box'检测技术能够有效验证系统的功能特性并确保数据处理过程中的准确性. 这种方法不仅能够检验系统的各项基本功能而且能够对其运行效率进行评估. 此外还能够对系统的稳定性作出准确判断. 在实际应用中这种方法已经被证明是一种非常可靠的检测手段[14].
使用了一个黑盒测试来检测下列的bug:
(1)对该过程进行初始化和结束时的差错;
(2)是否有系统接口出错;
(3)输入和输出的数据结果有无错误;
(4)对该数据库进行存取的过程中出现了故障;
(5)体系的错误;
(6)系统的功能是否有疏忽或错误;
整合以上多种检测手段,并基于本系统的特点,在线结合黑盒测试以及白盒测试这两种方法作为辅助工具,在线系统性地评估该系统的各项核心功能与运行性能。
(二)系统测试用例
表6-1 登录测试表
| 测试用例编号 | 预置条件 | 输入 | 预期输出 | 实际结果 |
|---|---|---|---|---|
| 1 | 无 | 不输入 | 登录失败 | 登录失败 |
| 2 | 系统中所不存在的账号 | 账号:0003 密码:984 | 登录失败 | 登录失败 |
| 3 | 账号和密码不能对应 | 账号:0047 密码:156121 | 登录失败 | 登录失败 |
| 4 | 输入错误的验证码信息 | 账号:0013 密码:123456 | 登录失败 | 登录失败,提示验证码错误 |
| 5 | 输入正确的账号以及密码 | 账号:1242 密码:1124 | 登录成功 | 登录成功 |
| 6 | 输入正确的账号以及密码 | 账号:2721 密码:425425 | 登录成功 | 登录成功 |
表6-2 房源信息管理测试表
| 测试用例 编号 | 测试工程 | 测试内容 | 测试 结果 | 功能实现情况 |
|---|---|---|---|---|
| 1 | 新增房源信息 | 在房源信息管理页面,点击新增的按钮,通过输入房屋名称、房屋类型、房屋图片、房屋地址、状态、朝向、面积、租金、区、县、房东账号、房东姓名、联系手机、发布日期、审核回复、审核状态等信息,点击提交的按钮 | 新增 成功 | 实现 |
| 2 | 房源信息管理 | 修改房源信息 | 修改成功 | 实现 |
| 3 | 房源信息管理 | 删除房源信息 | 删除成功 | 实现 |
在对房屋租赁系统的用户登录场景、合同信息管理场景等功能进行测试时,在线测试平台能够顺利地完成相应的操作流程,并且实现了预期目标下的各项功能指标。其中,在完成一系列的功能测试后发现,在线测试平台在Windows8及Windows10操作系统环境下运行稳定,并且能够正常处理包括房源信息查询与预约在内的各项业务需求。同时,在完成所有功能测试后发现,在线测试平台的各项性能指标均符合预期设计要求
******七、**结论
房屋租赁系统是走在现代科技前列的软件之一,并且有助于实现高效的房屋租赁管理系统与运营模式.基于计算机这一现代技术基础以及快速发展的互联网环境,在未来的时间里,房屋租赁系统将不断更新换代,从而实现更加全面、安全、经济的目标.该系统不仅能够满足现有用户的日常需求,同时还能够通过提升运营效率,增加盈利能力,在行业内树立良好声誉.
当前关于房屋租赁的市场是我国一个充满竞争的商业服务行业。若要在激烈的市场竞争中立足,则需不断提升自身的服务质量与工作效率。欲在行业内脱颖而出,则需对随时变化的需求作出快速回应,并迅速满足客户需求以赢得客户认可为目标。本研究开发的一个符合我国服务行业发展现状的房屋租赁系统,在满足用户需求的同时消除了现有系统的诸多不足。在实现设计过程中会遇到诸多问题许多问题都需要依靠自己去探索目前个人的学习能力有限因此仍存在许多有待完善之处。通过本次毕业设计不仅学到了许多知识也认识到了自身的一些不足之处。
