SpringBoot框架实现汽车票预订系统
3系统分析
3.1可行性分析
通过对本汽车票网上预订系统实行的目的初步调查和分析,提出可行性方案并对其一一进行论证。我们在这里主要从技术可行性、经济可行性、操作可行性等方面进行分析。
3.1.1技术可行性
本汽车票网上预订系统采用Spring Boot框架,JAVA作为开发语言,是基于WEB平台的B/S架构系统。
(1)Java提供了稳定的性能、优秀的升级性、更快速的开发、更简便的管理、全新的语言以及服务。整个系统帮用户做了大部分不重要的琐碎的工作。
(2)基于B/S模式的系统的开发已发展日趋成熟。
(3)众所周知,Java是面向对象的开发语言。程序开发员可以在Eclipse平台上面方便的使用一些已知的解决方案。
因此,汽车票网上预订系统在开发技术上具有很高可行性,且开发人员掌握了一定的开发技术,所以此系统的开发技术具有可行性。
3.1.2经济可行性
本汽车票网上预订系统采用的软件都是开源的,这样能够削减很多的精力和资源,降低开发成本。同时对计算机的配置要求也极低,即使是淘汰下来的计算机也能够满足需要,因此,本系统在经济上是完全具有可行性的,所以在经济上是十分可行的。
3.1.3操作可行性
本汽车票网上预订系统的界面简单易操作,用户只要平时有在用过电脑,都能进行访问和操作。本系统具有易操作、易管理、交互性好的特点,在操作上是非常简单的,因此在操作上具有很高的可行性。
综上所述,此系统开发目标已明确,在技术、经济和操作方面都具有很高的可行性,并且投入少、功能完善、管理方便,因此系统的开发是完全可行的。
3.2系统性能分析
3.2.1 系统安全性
此汽车票网上预订系统要严格控制管理权限,具体要求如下:
(1)要想对汽车票网上预订系统进行管理,首先要依靠用户名和密码在系统中登陆,无权限的用户不可以通过任何方式登录系统和对系统的任何信息和数据进行查看,这样可以保证系统的安全可靠性和准确性。
(2)在具体实现中对不同的权限进行设定,不同权限的用户在系统中登陆后,不可以越级操作。
3.2.2 数据完整性
(1)所有记录信息要保持全面,信息记录内容不可以是空。
(2)各种数据间相互联系要保持正确。
(3)相同数据在不同记录中要保持一致。
3.3系统界面分析
目前,界面设计已经成为对软件质量进行评价的一条关键指标,一个好的用户界面可以使用户使用系统的信心和兴趣增加,从而使工作效率提高,JSP技术是将JAVA语言作为脚本语言的,JSP网页给整个服务器端的JAVA库单元提供了一个接口用来服务HTTP的应用程序。创建动态页面比较方便。客户界面是指软件系统与用户交互的接口,往往涵盖输出、输入、人机对话的界面格式等。
1.输出设计
输出是由电脑对输入的基本信息进行解决,生成高质量的有效信息,并使之具有一定的格式,提供给管理者使用,这是输出设计的主要责任和目标。
系统开发的过程与实施过程相反,并不是从输入设计到输出设计,而是从输出设计到输入设计。这是由于输出表格与使用者直接相联系,设计的目的应当是确保使用者可以很方便的使用输出表格,并且可以将各部门的有用信息及时的反映出来。输出设计的准绳是既要整体琢磨不同管理层的所有需要,又要简洁,不要提供给用户不需要的信息。
2.输入设计
输入数据的收集和录入是比较麻烦的,需要非常多的人力和一定设备,而且经常出错。一旦输入系统的数据不正确,那么处理后的输出就会扩大这些错误,因此输入的数据的准确性对整个系统的性能起着决定性意义。
输入设计有以下几点原则:
1)输入量应尽量保持在能够满足处理要求的最低限度。输入量越少,错误率就会越少,数据的准备时间也越少。
2)应尽可能的使输入的准备以及输入的过程进行时比较方便,这样使错误的发生率降低。
3)应尽量早检查输入数据(尽量接近原数据发生点),以便使错误更正比较及时。
4)输入数据尽早地记录成其处理所需的形式,以防止数据由一种介质转移到另一种介质时需要转录而可能发生的错误。
3.4系统流程和逻辑

图3-3登录流程图

图3-4修改密码流程图
5 系统主要功能模块设计与实现
5.1 用户注册功能设计
为了确保系统的安全性与用户体验, 所有用户必须先完成注册流程才能进行登录操作。
在本节中将详细介绍用户注册功能的设计与实现过程。
具体而言, 在附录A中对系统各功能模块的界面进行了详细的设计与实现。

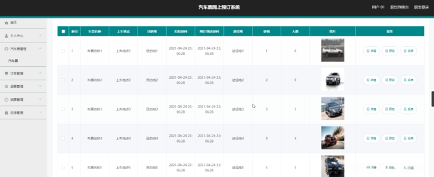
图5.1为用户注册界面设计示意图;5.2为汽车票信息系统功能模块流程图;用户登录后在系统后台后台区域显示的汽车票信息可以被用户完成预订操作;具体界面如图5.2所示

在第5.2节的页面上展示的是汽车票服务系统,在第5.3小节中讨论的是关于订单管理的内容。用户可在系统提供的‘订单管理’功能模块中完成对订单信息的调换及结算操作。界面如下图所示

如图所示为订单界面。
具体流程如上图所示。
管理员具备对汽车票信息进行增删改存的基本权限。
请参考下图

图5.4 汽车票管理界面
5.5 退票审核
管理员可以对用户的退票信息进行审核。界面如下图所示:

图5.5 退票审核模块界面
5.6 留言反馈管理
管理员具备对留言反馈执行审核、修改及删除等操作的功能。相关操作均通过统一的系统界面完成,并配合相应的功能模块完成数据流转与处理流程(如图所示)。

图5.6 留言反馈界面
