UML建模注意事项
发布时间
阅读量:
阅读量
众所周知,UML建模已经成为软件工程过程不可或缺的部分。好的UML模型有利于整个软件开发的过程。为了增强UML模型的可读性,易理解性,我们必须遵循UML应有的规范,不被易混淆概念所迷惑。下面将列举一些博主在学习UML建模过程中的心得与经验,给大家参考。
一、用例建模注意事项
1、用例建模必须注意我们所关注的是“用例”。用例是一个动作行为,业务行为,所以用例图表示法中用例的名称一定是一个动作。
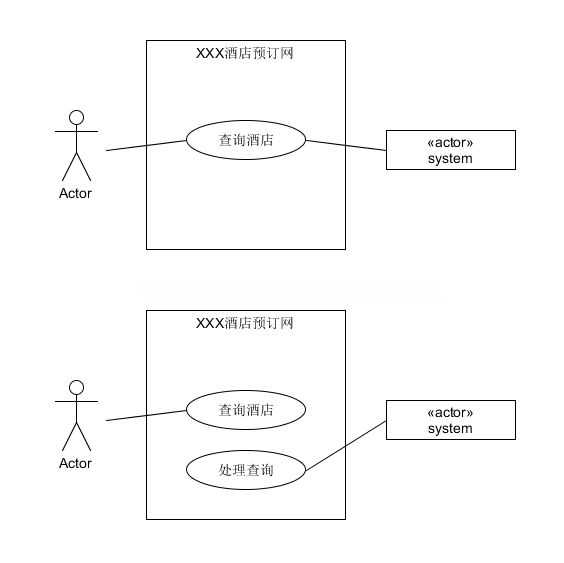
2、分清系统边界。通常来说,用例图可以明显的将前端后台分离,方便设计。我们在建模过程中必须把系统边界弄清楚,不是系统内部完成的用例不应该画在边界内。比如下图的例子:

这样一个简单例子中,第一个用例图是合理的,而第二个用例图中,处理查询不应该放在酒店预订网的系统边界内。这个实在system内部完成的。
二、区别概念类图与软件类图
类图是UML建模中很重要的一个部分,但是类图的概念常常会引起混淆。概念类图是在领域建模中所使用的类图,它只关注类之间的关联关系和类所包含的属性。而软件类图是编码的直接原型。直观来说,概念类图只需要类名,属性和关联,软件类图则还包含类的方法。
三、模型衔接
项目一般流程:
分析阶段:
1、用Use Case图描述用户需求,确定项目范围
2、用Sequence描述每个Case的可能的处理流程(一个case可以对应多个Sequence图)
3、用Collaboration图检查对象之间的行为负载
设计阶段:
1、设计Class(数据库设计还是用ERWin好)
开发阶段:
1、生成代码框架
全部评论 (0)
还没有任何评论哟~
