(附源码)计算机毕业设计ssm航空公司机票预订管理系统
项目
环境配置:
将这些软件进行集成配置,并且能够同时运行在Webstorm环境中;同样支持IntelliJ IDEA、Eclispe、MyEclispe以及Sts等开发工具。
项目技术:
SSM + mybatis + Maven + Vue****等等组成,B/S模式 + Maven管理等等。
环境需要
**1.**环境:最好是java jdk 1.8,我们在这个平台上的。其他版本理论上也可以。
2.IDE****环境:IDEA,Eclipse,Myeclipse都可以。推荐IDEA;
3.tomcat****环境:Tomcat 7.x,8.x,9.x版本均可
**4.**硬件环境:windows 7/8/10 1G内存以上;或者 Mac OS;
**5.****不为Maven项目;检查源码目录是否存在pom.xml文件;若存在pom.xml,则判定为Maven项目;否则确定不是Maven项目。
**6.**数据库:MySql 5.7/8.0等版本均可;
毕设帮助,指导,本源码分享,调试部署**(见文末)**
3.1 系统的结构划分
本系统可以分为:会员使用的功能、管理员进行管理的功能。
会员功能使用情况包括:主页、个人空间、订单处理记录(如购票信息)、退票操作记录(如退票信息)、调换订单流程(如换票信息)、个人收藏夹维护以及用户反馈交流区维护。
管理员功能模块:包含首页页面、个人设置页面、会员账户服务(包括会员状态查询)、旅客行程服务(航班号查询与修改)、订单支付服务(交易确认与 History)、退票处理流程(包括退票申请提交与审核)、登机牌更换服务(包括更换申请提交与审核)、客户反馈渠道以及系统维护与更新等各项基础保障工作。
3.1.1 系统结构图
航空公司机票预订管理系统的结构图3-1所示:

图3-1 系统结构
登录系统结构图,如图3-2所示:

图3-2 登录结构图
此系统能够很好地满足航空公司机票预订管理系统的各项需求。此系统的功能内容丰富详细展示如图3-3所示的系统功能结构。

图3-3系统功能结构图
3.2 系统的流程分析
3.2.1操作流程
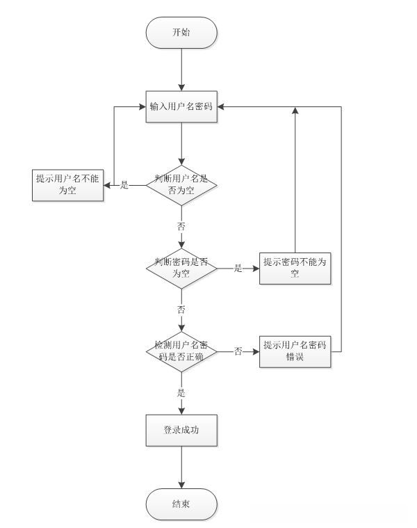
系统登录流程图,如图所示:

图3-4登录流程图
3.2.2添加信息流程
添加信息流程图,如图所示:

图3-5添加信息流程图
3.2.3删除信息流程
删除信息流程图,如图所示:

图3-6删除信息流程图
3.3. 数据库设计
3.3.1 数据库实体
管理员信息结构图,如图3-7所示:

图3-7 管理员信息实体结构图
会员信息实体属性图,如图3-8所示:

图3-8会员信息实体属性图
航班信息实体属性图如图3-9所示。

图3-9航班信息实体属性图
管理员功能实体属性图如图3-10所示。

图3-10管理员功能实体属性图
4.2.1系统功能模块
航空公司机票预订管理系统位于系统首页的浏览界面中,用户可便捷地浏览到首页信息,航班详情以及时事动态等具体内容,并可进行客户反馈及个人中心的后台操作,如图4-1所示

图4-1系统首页界面图
用户在系统中进行注册操作时,在用户登录页面通过填写个人账号信息、密码、姓名、年龄以及身份证号等必要资料来完成用户的创建流程

图4-2会员注册界面图
在航班信息页面上可以查看航班编号、航班名称、航班简介、起飞城市、到达城市、航班图片以及起飞时间与到达时间等详细信息,并完成购买(如图所示)。

图4-3航班信息界面图
留言反馈,在留言反馈页面通过输入留言信息并立即提交,如图4-4所示。

图4-4留言反馈界面图
在个人中心页面需填写登录密码及个人信息如账号名、姓名和联系方式等完成资料更新流程。根据具体情况对个人收藏进行相关操作。如图4-5所示。

图4-5个人中心界面图
4.2.2管理员功能模块
管理员登录,通过填写注册时输入的用户名、密码、角色进行登录,如图4-6所示。

图4-6管理员登录界面图
管理员通过登录界面访问该航空公司的机票预订系统后,在首页即可浏览个人中心以及会员相关的各种管理信息;同时还可以查看航班信息管理、购票信息管理、退票信息管理等模块中的详细内容(如图4-7所示)。此外,在线购票流程清晰明了;操作简便高效;并且能够实时查询订单状态及支付情况(如图4-7所示)。

图4-7管理员功能界面图
《会员管理系统》在《会员管理模块》中能够显示《索引信息》《个人账号》《姓名信息》《性别信息》《年龄信息》《身份证信息》以及《联系电话号码》,并根据需求对相关信息进行增删修运算作调整。

图4-8会员管理界面图
在航班信息管理页面中提供全面的信息浏览服务,在线展示航班编号作为独特的标识符,并详细标注航班名称及其相应的描述内容;同时提供起飞城市与到达城市的对应关系展示;通过图片模块直观呈现航班动态;系统还支持时间轴显示模式下的起飞与到达时刻对比分析;座位配置与票价设置采用表格形式呈现以便一目了然;此外系统内置有发布日期记录功能以确保数据的一致性与准确性

图4-9航班信息管理界面图
票务信息管理功能在票务信息管理页面上提供全面的信息浏览服务,在线展示各类票务数据包括但不局限于以下项目:票务编号(航班号)、航班号(航班名称)、起飞和到达城市、机票配图(航班图片)、离港时间和抵达时间、座位号(座位)、支付金额(票价)、个人账号对应人名以及购票记录等基础要素,并支持删除相关数据操作(如图4-10所示)。

图4-10购票信息管理界面图
在提供退票信息管理功能的页面上(或网站上),用户可以访问并查看一系列相关信息项包括但不限于:索引列表(Index List)、航班编号(Flight ID)、航班名称(Flight Name)、起飞城市(Takeoff City)、到达城市(Arrival City)、航班图片(Flight Image)、起飞时间(Takeoff Time)、到达时间(Arrival Time)、座位配置(Seating Plan)、票价结构(Fare Structure)、应付金额(Due Amount)、个人账号记录(Personal Account Record)、账户持有人信息(Account Holder Information)、购票者姓名(Purchaser Name)、购票日期记录(Booking Date Record)以及相关的退票申请详情如退票原因描述(Rebate Reason Description)等关键数据项

图4-11退票信息管理界面图
在票务变更信息管理页面中可浏览旅客的出发地和目的地、航班编号/航班名称、电子机票中的航班图以及对应的时刻表数据,并可查看旅客的座位号、金额总计、账户名、姓名、下单时间、发起时间等基础信息;同时支持对相关数据进行编辑及删除操作(如图4-12所示)。

图4-12换票信息管理界面图
留言版块管理,在留言板管理界面中可获取当前展示的索引值以及参与者的用户名,并可获取新增或现有留言内容和回复内容的相关信息数据。根据实际需求可执行回复新消息、修改现有记录或删除多余信息的操作步骤。如图4-13所示。

图4-13留言板管理界面图
系统管理,在轮播图管理界面里有相应的展示;这些信息包括索引、名称和数值等关键数据,并且根据需求可以选择性地执行特定操作,请参考附图4-14以获取详细说明。

图4-14系统管理界面图
4.2.3会员功能模块
完成会员注册并接入航空公司机票预订管理系统系统后即可查看首页以及个人中心等多个功能模块,并如图4-15所示

图4-15会员功能界面图
在个人中心模块中,请根据以下详细信息进行设置:个人账号、姓名、性别、年龄、身份证号以及电话号码等必要资料,并上传照片以完成个人信息修改操作(如图4-16所示)。

图4-16个人中心界面图
购票信息管理功能在购票信息管理页面提供全面展示服务,在线用户可通过该页面访问并浏览包含航班详情的信息列表。具体而言,在线用户可查阅航班编号与航班名称对应关系表,并获取起飞城市与到达城市的详细地理位置数据;同时还可以观察各次航班的飞行图片以及精确计算的飞行时间参数;此外系统还支持显示乘客座位布局安排情况以及对应的票价水平设置;在线用户还可以查询到各项费用总计金额与个人账户余额情况;最后系统支持显示每位乘客的基本个人信息包括姓名与-ticket号码等关键数据项,并提供灵活的操作选择:包括订单取消与重订功能以及记录更新功能等操作选项;具体操作流程如图4-17所示

图4-17购票信息管理界面图
在换票信息管理的相关页面上提供服务,在线查看并获取包括但不仅限于以下信息:索引编号( flight number)、航班号( flight identifier)、航班名称( flight name)、出发城市( departure city)、抵达城市( arrival city)、相关图片链接( image links)、离港时间( departure time) 以及到站时间( arrival time),座位号 ( seat number),支付金额 ( payment amount),个人账号 ( personal account holder), 姓名 ( name), 购买日期 ( booking date), 航班变更编号 ( updated flight identifier), 申请日期 ( application date),以及相关的处理结果 ( processing result) 和审核状态 ( review status) 等详细信息;根据实际需求可对相关信息进行增删或修改设置等操作;如图 A4-18 所示

图4-18换票信息管理界面图
我已建立的收藏管理系统位于我的个人资料管理界面中,在线存储和管理个人收藏信息。该系统允许用户检索或浏览其收藏内容包括索引信息、收藏名称以及相关图片等数据项,并根据需求执行删除功能如图4-19所示

图4-19我的收藏管理界面图
留言版块管理,在留言板管理界面中能够显示索引编号、用户名标识以及留言内容记录,并支持根据需求完成回复内容撰写、信息修改或无效信息删除的操作功能,如图4-20所示。

图4-20留言板管理界面图
