实时疫情数据可视化分析
导入模块
import requests
import pandas as pd
import time
一、数据获取
1.数据获取
data_中国 = requests.get('http://dzq.wenlvnews.com/index.php/yiqing/push.html')
data_外国 = requests.get('http://dzq.wenlvnews.com/index.php/yiqing/glbpush.html')
2.数据解析[最小单位为省份]
2-1.国内信息
data_中国 = DataFrame(data_中国的json()['allData']['area'])[['省份名', '累计确诊', '累计治愈', '累计死亡']]
data_中国的列名 = ['省份', '累计确诊人数', '累计治愈人数', '累计死亡人数']
data_中国的['国家'] = '中国'
data_中国的 = data_中国的[['国家', '省份', '累计确诊人数', '累计治愈人数', '累计死亡人数']]
data_中国的['数据单位'] = '省份'
2-2.国外信息
data_1 = pd.DataFrame()
遍历所有记录
for i in data_外国.json()['tableData']:
如果某个字段为空:
创建包含特定键值对的新DataFrame
省字段设为None
累积确诊设为i(confirm)
累积痊愈设为i(heal)
累积死亡设为i(dead)
国家字段设为i(area)
将列名为"国家"
否则:
j取自i(city)字段
从字典创建新DataFrame
设置列为"省","累积确诊","累积痊愈","累积死亡"
将国家字段设为i(area)
将列名为"省"
data_1=data_1.append(a)
data_外国=data_1
3.数据融合
data=data_中国.append(data_外国)
4.时间标注
生成当前时间的字符串格式
按照指定的时间格式生成当前时间的字符串表示
将数据中的'日期'字段设置为当前时间的字符串表示
返回数据表中记录的第一部分信息

5.持久化存储
data.to_excel(r'全球疫情[省]1.xlsx', mode='a', index=False, encoding='utf-8') # 使用Excel存储数据并设置utf-8编码以避免中文显示问题
6、疫情数据可视化分析
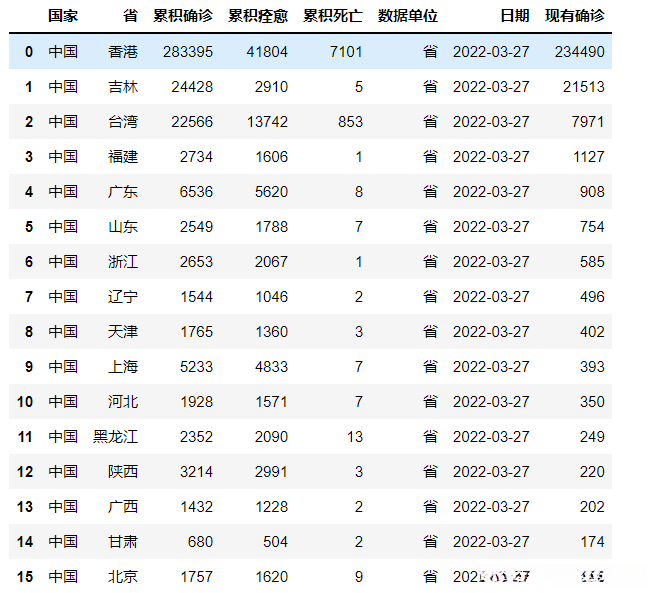
中国截止至2022年3月27日累计疫情数据的可视化分析
从文件'全球疫情[省]1.xlsx'中读取数据
data = pd.read_excel('全球疫情期间省1.xlsx')
查看处理后的数据结果

data =data.copy()
data['现有确诊'] =data['累积确诊']-data['累积痊愈']-data['累积死亡']
data.head(34)


data[:]=data.copy()
china_data=data.loc[data['国家'].isin(['中国']),:]#提取中国的数据
china_data=china_data.sort_values(by='累计确诊',ascending=False,ignore_index=True)


对中国的各个省份的数据进行可视化展示(基于pyecharts的地图工具)
c = (
Map()
.add("", [list(z) for z in zip(china_data["省"], china_data["累积确诊"])], "中国")
.set_global_opts(
title_opts=opts.TitleOpts(
title="截至{}中国各省份累计确诊人数".format(data["日期"][0])
),
visualmap_opts=opts.VisualMapOpts(max_=16995)
)
)
c.render_notebook()

对中国的各个省份的数据进行可视化(通过PyEcharts的地图工具)
c = Map().add("", [list(z) for z in zip(china_data["省"], china_data["累积死亡"])], "china").set_global_opts(
title_opts=opts.TitleOpts(
title="截至{}日显示的中国各省份累计死亡人数".format(data["日期"][0])
),
visualmap_opts=opts.VisualMapOpts(max_=853)
).render_notebook()

对中国的各个省份的数据进行展示(利用pyecharts地图工具)
c = (
地图工具
增加(
空字符串,
基于zip遍历中国数据中省份与现存确诊病例列表,
名称: '中国'
),并设置全局样式:
标题样式=
标题选项=
显示标题为:截至{}中国各省份现存确诊病例数
颜色映射样式=
最大值索引为853
)
)
c渲染笔记本


按照国家分组,并对所有国家的数据进行汇总计算
data = data.drop(['省', '数据单位', '日期'], axis=1) # 删除指定的字段信息
data




from pyecharts.charts import Line
from pyecharts import options as opts
对治愈率和死亡率对比
line = (
Line()
.add_xaxis(list(data_group.index))
.add_yaxis('累积死亡',list(data_group['累积死亡']), color='red')
.add_yaxis('累积痊愈',list(data_group['累积痊愈']), color='green')
.set_global_opts(title_opts=(opts.TitleOpts(title='新冠疫情治愈率和死亡率对比图')))
)
line.render_notebook()

name_map = {
'Singapore Rep.': '新加坡',
'Dominican Rep.': '多米尼加',
'Palestine': '巴勒斯坦',
'Bahamas': '巴哈马',
'Timor-Leste': '东帝汶',
'Afghanistan': '阿富汗',
'Guinea-Bissau': '几内亚比绍',
"Côte d'Ivoire": '科特迪瓦',
'Siachen Glacier': '锡亚琴冰川',
"Br. Indian Ocean Ter.": '英属印度洋领土',
'Angola': '安哥拉',
'Albania': '阿尔巴尼亚',
'United Arab Emirates': '阿联酋',
'Argentina': '阿根廷',
'Armenia': '亚美尼亚',
'French Southern and Antarctic Lands': '法属南半球和南极领地',
'Australia': '澳大利亚',
'Austria': '奥地利',
'Azerbaijan': '阿塞拜疆',
'Burundi': '布隆迪',
'Belgium': '比利时',
'Benin': '贝宁',
'Burkina Faso': '布基纳法索',
'Bangladesh': '孟加拉国',
'Bulgaria': '保加利亚',
'The Bahamas': '巴哈马',
'Bosnia and Herz.': '波斯尼亚和黑塞哥维那',
'Belarus': '白俄罗斯',
'Belize': '伯利兹',
'Bermuda': '百慕大',
'Bolivia': '玻利维亚',
'Brazil': '巴西',
'Brunei': '文莱',
'Bhutan': '不丹',
'Botswana': '博茨瓦纳',
'Central African Rep.': '中非',
'Canada': '加拿大',
'Switzerland': '瑞士',
'Chile': '智利',
'China': '中国',
'Ivory Coast': '象牙海岸',
'Cameroon': '喀麦隆',
'Dem. Rep. Congo': '刚果民主共和国',
'Congo': '刚果',
'Colombia': '哥伦比亚',
'Costa Rica': '哥斯达黎加',
'Cuba': '古巴',
'N. Cyprus': '北塞浦路斯',
'Cyprus': '塞浦路斯',
'Czech Rep.': '捷克',
'Germany': '德国',
'Djibouti': '吉布提',
'Denmark': '丹麦',
'Algeria': '阿尔及利亚',
'Ecuador': '厄瓜多尔',
'Egypt': '埃及',
'Eritrea': '厄立特里亚',
'Spain': '西班牙',
'Estonia': '爱沙尼亚',
'Ethiopia': '埃塞俄比亚',
'Finland': '芬兰',
'Fiji': '斐',
'Falkland Islands': '福克兰群岛',
'France': '法国',
'Gabon': '加蓬',
'United Kingdom': '英国',
'Georgia': '格鲁吉亚',
'Ghana': '加纳',
'Guinea': '几内亚',
'Gambia': '冈比亚',
'Guinea Bissau': '几内亚比绍',
'Eq. Guinea': '赤道几内亚',
'Greece': '希腊',
'Greenland': '格陵兰',
'Guatemala': '危地马拉',
'French Guiana': '法属圭亚那',
'Guyana': '圭亚那',
'Honduras': '洪都拉斯',
'Croatia': '克罗地亚',
'Haiti': '海地',
'Hungary': '匈牙利',
'Indonesia': '印度尼西亚',
'India': '印度',
'Ireland': '爱尔兰',
'Iran': '伊朗',
'Iraq': '伊拉克',
'Iceland': '冰岛',
'Israel': '以色列',
'Italy': '意大利',
'Jamaica': '牙买加',
'Jordan': '约旦',
'Japan': '日本',
'Kazakhstan': '哈萨克斯坦',
'Kenya': '肯尼亚',
'Kyrgyzstan': '吉尔吉斯斯坦',
'Cambodia': '柬埔寨',
'Korea': '韩国',
'Kosovo': '科索沃',
'Kuwait': '科威特',
'Lao PDR': '老挝',
'Lebanon': '黎巴嫩',
'Liberia': '利比里亚',
'Libya': '利比亚',
'Sri Lanka': '斯里兰卡',
'Lesotho': '莱索托',
'Lithuania': '立陶宛',
'Luxembourg': '卢森堡',
'Latvia': '拉脱维亚',
'Morocco': '摩洛哥',
'Moldova': '摩尔多瓦',
'Madagascar': '马达加斯加',
'Mexico': '墨西哥',
'Macedonia': '马其顿',
'Mali': '马里',
'Myanmar': '缅甸',
'Montenegro': '黑山',
'Mongolia': '蒙古',
'Mozambique': '莫桑比克',
'Mauritania': '毛里塔尼亚',
'Malawi': '马拉维',
'Malaysia': '马来西亚',
'Namibia': '纳米比亚',
'New Caledonia': '新喀里多尼亚',
'Niger': '尼日尔',
'Nigeria': '尼日利亚',
'Nicaragua': '尼加拉瓜',
'Netherlands': '荷兰',
'Norway': '挪威',
'Nepal': '尼泊尔',
'New Zealand': '新西兰',
'Oman': '阿曼',
'Pakistan': '巴基斯坦',
'Panama': '巴拿马',
'Peru': '秘鲁',
'Philippines': '菲律宾',
'Papua New Guinea': '巴布亚新几内亚',
'Poland': '波兰',
'Puerto Rico': '波多黎各',
'Dem. Rep. Korea': '朝鲜',
'Portugal': '葡萄牙',
'Paraguay': '巴拉圭',
'Qatar': '卡塔尔',
'Romania': '罗马尼亚',
'Russia': '俄罗斯',
'Rwanda': '卢旺达',
'W. Sahara': '西撒哈拉',
'Saudi Arabia': '沙特阿拉伯',
'Sudan': '苏丹',
'S. Sudan': '南苏丹',
'Senegal': '塞内加尔',
'Solomon Is.': '所罗门群岛',
'Sierra Leone': '塞拉利昂',
'El Salvador': '萨尔瓦多',
'Somaliland': '索马里兰',
'Somalia': '索马里',
'Serbia': '塞尔维亚',
'Suriname': '苏里南',
'Slovakia': '斯洛伐克',
'Slovenia': '斯洛文尼亚',
'Sweden': '瑞典',
'Swaziland': '斯威士兰',
'Syria': '叙利亚',
'Chad': '乍得',
'Togo': '多哥',
'Thailand': '泰国',
'Tajikistan': '塔吉克斯坦',
'Turkmenistan': '土库曼斯坦',
'East Timor': '东帝汶',
'Trinidad and Tobago': '特里尼达和多巴哥',
'Tunisia': '突尼斯',
'Turkey': '土耳其',
'Tanzania': '坦桑尼亚',
'Uganda': '乌干达',
'Ukraine': '乌克兰',
'Uruguay': '乌拉圭',
'United States': '美国',
'Uzbekistan': '乌兹别克斯坦',
'Venezuela': '委内瑞拉',
'Vietnam': '越南',
'Vanuatu': '瓦努阿图',
'West Bank': '西岸',
'Yemen': '也门',
'South Africa': '南非',
'Zambia': '赞比亚',
'Zimbabwe': '津巴布韦',
'Comoros': '科摩罗'
}
name = []
for i in data_group.index:
for key, value in name_map.items():
if i==value:
name.append(key)
name
全球新冠肺炎确诊病例分布
全球新冠肺炎确诊病例分布情况分析
g1 = (
Map()
.add("全球新冠肺炎确诊病例分布", [list(z) for z in zip(name, data_group["确诊病例数"])], "world")
.set_series_opts(label_opts=opts.LabelOpts(is_show=False))
.set_global_opts(
title_opts=opts.TitleOpts(title="新冠疫情全球新冠肺炎确诊病例分布图"),
visualmap_opts=opts.VisualMapOpts(max_=481177)
)
)
g1.render_notebook()

本次疫情数据分析的数据来源为[https://www.yiqing.gov.cn/index.php/yiqing "实时追踪的全球新冠肺炎疫情大数据报告"](https://www.yiqing.gov.cn/index.php/yiqing),该数据集截至日期为2022年3月27日。

以上代码仅限于学术和技术讨论参考,并禁止用于商业用途。禁止频繁进行数据采集与网络爬取行为以避免可能对网站造成影响。
